Винтовка Мосина
Русская 3-линейная (7,62-мм) винтовка Мосина образца 1891 года[2] — магазинная винтовка, принятая на вооружение Русской императорской армии в 1891 году[3].
Имела другие названия — 7,62-мм винтовка обр. 1891 г. (1891/30 гг.), трёхлинейка, винтовка Мосина, «Мосинка» и тому подобные. Массово использовалась в период с 1892 до конца 1950-х гг. (в НОАК и КНА), в этот период многократно модернизировалась.
Название трёхлинейка происходит от калибра ствола винтовки, который равен трём линиям (устаревшая мера длины, равная одной десятой дюйма или 2,54 мм).
На основе винтовки образца 1891 года и её модификаций был создан целый ряд образцов спортивного и охотничьего оружия, как нарезного, так и гладкоствольного.
Что важно знать
| Русская 3-линейная (7,62-мм) винтовка Мосина образца 1891 года | |
|---|---|
| Тип | Винтовка |
| Страна | |
| История службы | |
| Годы эксплуатации | с 1892 года[a] |
| На вооружении | см. Страны-эксплуатанты |
| Войны и конфликты |
Русско-японская война, |
| История производства | |
| Конструктор | С. И. Мосин |
| Разработан | 1891 год |
| Производитель | |
| Годы производства | 1892—По настоящее время (отдельными ей модификациями) На заводах Remington и т. д. |
| Всего выпущено | около 37 000 000 единиц |
| Варианты | см. Варианты |
| Характеристики | |
| Масса, кг | 4,5 |
| Длина, мм |
со штыком / без штыка
1738 / 1306 (пехотная), |
| Длина ствола, мм |
800 (пехотная),
729 (драгунская и обр. 1891/30), |
| Патрон | 7,62×54 мм R |
| Калибр, мм | 7,62 (3 линии) |
| Принципы работы | скользящий затвор |
| Скорострельность, выстрелов/мин |
10 |
| Начальная скорость пули, м/с |
865—870 |
| Прицельная дальность, м | 1300-2000 м[b] |
| Максимальная дальность, м |
2000[1] |
| Вид боепитания | неотъёмный магазин на 4 патрона, винтовка заряжалась обоймами по 5 патронов (после заряжания 1 патрон досылался в патронник) |
| Прицел | открытый, с 1931 года появился снайперский вариант винтовки. |
Предшествующие события
Магазинные винтовки с ручной перезарядкой (в терминах военного дела тех лет — «повторительные») были известны ещё с середины XIX века и уже тогда находили ограниченное военное применение.
Например, в США в ходе гражданской войны и боевых действий против индейцев использовались магазинные винтовки Спенсера с прикладным магазином, Генри с подствольным магазином и перезаряжанием подвижной спусковой скобой, и другие системы.
В годы русско-турецкой войны 1877—1878 годов турки небезуспешно применяли имевшиеся в ограниченных количествах (порядка десятков тысяч штук) магазинные винтовки Винчестера невоенного образца моделей 1866 и 1873 годов, разработанные на основе системы Генри — хотя массовость и эффективность их применения, как правило, сильно преувеличивается.
Многие из этих систем были хорошо известны и в России, а примерно с 1878 года активно проводились закупки различных образцов зарубежного магазинного оружия для исследований и испытаний[4]. Как писал генерал М. И. Драгомиров в середине 1870-х годов[4],
«Если изобрести повторительную систему, которая будет надежна, прочна, не будет требовать слишком тщательного ухода… то ни о чём лучшем и мечтать нельзя»
Однако такой системы в те годы ещё не существовало. Имевшиеся образцы, хоть и представляя, в теории, существенно более высокую ступень развития стрелкового оружия по сравнению с распространёнными в то время в качестве военного оружия винтовками однозарядными, имели весьма существенные общие недостатки, ввиду которых они не могли быть приняты на массовое вооружение регулярной армии.
Во-первых — в ранних магазинных системах из-за особенностей конструкции их магазинов (прикладных, подствольных) обычно использовались сравнительно короткие и слабые патроны, часто кольцевого воспламенения, по мощности близкие к револьверным. Например, в подствольном трубчатом магазине при применении патронов центрального воспламенения, к типу которых тогда уже принадлежало большинство патронов военного образца, опасались случайных разрывов от удара пули заднего патрона о капсюль переднего[4], поэтому многие винтовки с таким магазином использовали патроны кольцевого воспламенения, имевшие вместо центрально расположенного капсюля колечко капсюльного состава прямо в закраине гильзы, малопригодные для военного оружия.
В результате дальность стрельбы из них оставляла желать много лучшего, особенно с учётом предъявлявшихся в те годы к этому качеству военного оружия явно завышенных требований (что было вызвано наличием практики стрельбы из винтовок залпами по групповой, часто даже невидимой, цели, исчезнувшей после введения пулемётов), а пуля не обладала пробивной силой, необходимой для поражения цели, находящейся за земляными валами, брустверами и иными укреплениями или преградами.
Прикладные магазины также имели свои проблемы, связанные со сложностью, низкой надёжностью, ослаблением конструкции винтовки.
Во-вторых, что ещё важнее, после опустошения магазина требовалось его весьма длительное наполнение, осуществлявшееся в тогдашних конструкциях по одному патрону, чем существенно снижалась практическая скорострельность. Это делало проблематичным использование ранних магазинных винтовок в полевых сражениях, — хотя в определённых ситуациях, например, при обороне укреплённых позиций, когда стрелок имел возможность относительно спокойно перезарядить своё оружие, они, безусловно, имели большие преимущества.
К этому добавлялись и многочисленные проблемы с надёжностью ранних «магазинок» в полевых условиях, а также их высокие стоимость и сложность в производстве.
Позднее появились более совершенные системы под военные патроны с дымным порохом, которые даже принимались в некоторых странах на ограниченное вооружение, — такие, как швейцарская магазинная винтовка Repetiergewehr Vetterli (1869), введённая во флоте Норвегии многозарядная (очень несовершенная, с подачей очередного патрона в ствол из магазина, осуществляемой рукой стрелка) винтовка Krag-Petersson (1876 год), японская винтовка Мурата Тип 13 (1880), немецкая «передельная» Gewehr 71/84 (1884 год), австро-венгерский (1881 год) и французский (1886 год) варианты системы Gra-Kropatschek, и другие.
Но все они также имели магазины, снаряжаемые по одному патрону, и потому практически нигде не были приняты на полное вооружение в качестве единственного военного образца, обычно оставаясь лишь дополнением к составлявшим основную массу оружия пехоты однозарядным винтовкам. В обычных обстоятельствах стрелку приходилось пользоваться ими как однозарядными, приберегая запас патронов в магазине на критический момент боя, определить наступление которого, естественно, крайне сложно[5]. То же самое можно сказать и о так называемых «приставных магазинах» и «ускорителях заряжания», которые крепились на однозарядной винтовке, превращая её в некое подобие магазинной, но были при этом громоздки, сравнительно ненадёжны и сложны в эксплуатации, да и снаряжались, опять же, по одному патрону.
Магазины на военном оружии ещё долго оставались постоянными, то есть постоянно жёстко закреплёнными на винтовке; сменные магазины, как на современном оружии, считались тогда совершенно недопустимым расточительством. Даже если магазин и мог сниматься для чистки (как на английской винтовке Ли-Метфорд), на винтовку он приходился всего один (а в случае вышеупомянутой винтовки Ли-Метфорд — ещё и присоединялся к ней цепочкой), соответственно, иметь при себе запас предварительно снаряжённых магазинов стрелок не мог. Именно поэтому заряжание единственного имевшегося у стрелка магазина по одному патрону в те годы было критическим недостатком магазинного оружия, препятствовавшим его широкому военному применению.
Так или иначе, ни в одной из основных европейских армий в период до второй половины 1880-х годов магазинные винтовки не были приняты на вооружение в качестве основного образца, именно в виду непригодности их ранних вариантов к использованию в качестве массового военного оружия.
Произошло это лишь после появления необходимых предпосылок — в первую очередь благодаря введению серединного (расположенного перед спусковой скобой) магазина с рядным расположением патронов, запатентованного американцем шотландского происхождения Джеймсом Ли (James Paris Lee) в 1879 году и впервые использованного в винтовке Маннлихера образца 1886 года, а к нему — патронной пачки (винтовка Маннлихера 1889 года), а затем и обоймы (принятая в Бельгии винтовка Маузера 1889 года), благодаря которым, наконец, нашёл своё вполне положительное решение вопрос о быстром снаряжении магазина сразу несколькими патронами. Пачка или обойма позволяли заполнить магазин за время, сравнимое с тем, которое уходило на перезаряжание прежних однозарядных винтовок одним патроном.
Также существенную роль во введении многозарядных винтовок сыграло появление новых малокалиберных патронов с бездымным порохом (первой из которых была французская Lebel M1886), более компактных и лёгких, что позволяло снабдить винтовку достаточно ёмким магазином, при этом избыточно не отягощая стрелка весом размещённого на ней боекомплекта.
Почти сразу же после появления этих новшеств использовавшие их магазинные винтовки были приняты на полное вооружение практически во всех развитых странах — Vetterli-Vitali в Италии (1887), Gewehr 1888 в Германии (1888), Lee-Metford в Англии (1888), Schmidt-Rubin M1889 в Швейцарии (1889) и др.
В России Главное Артиллерийское управление поставило задачу разработки многозарядной, «повторительной» винтовки в 1882 году. В 1883 была образована «Комиссия по испытанию магазинных ружей» (ружьями тогда именовали любое ручное длинноствольное оружие, а слово «винтовка» обозначало разновидность ружья) под председательством генерал-майора Н. И. Чагина.
Первые разработки велись под 4,2-линейный патрон к винтовке Бердана, снаряжённый дымным порохом — всего было рассмотрено около 150 российских и иностранных систем, в том числе 4,2-линейная винтовка системы капитана С. И. Мосина разработки 1887 года, с прикладным магазином с реечной подачей боеприпасов. Она показала хорошие результаты, но была отвергнута ввиду уже упоминавшегося общего для всех систем с такими магазинами недостатка — длительности заряжания и сложности дозаряжания магазина в боевых условиях.
Быстрое развитие бездымных порохов уже через несколько лет по сути обесценило результаты этих работ, которые, тем не менее, дали богатый и ценный опыт, необходимый для дальнейших разработок.
Попутно испытывались и винтовки уменьшенного калибра (7—8 мм). Например, весной 1885 года полковником Роговцевым был создан 3,15-линейный (8 мм) патрон, созданный на базе переобжатой «бердановской» гильзы, предназначенный для стрельбы из экспериментальных 3,15-линейных стволов, разработанных Оружейным отделом ГАУ и изготовленных в Инструментальной 2-й мастерской Петербуржского патронного завода. Патрон Роговцева 1885 года снаряжался экспериментальным усиленным дымным порохом, с увеличенным содержанием селитры, что повышало его коррозионное воздействие на ствол, и пулей в медной оболочке со свинцовым сердечником. Он имел заряд в 5 граммов пороха, который разгонял 13,6-граммовую пулю до 550 м/с.[6]
Параллельно с разработкой принципиально новой магазинной винтовки велись и работы по приспособлению магазина к существующей винтовке Бердана (признанные позднее бесперспективными), а также — по созданию однозарядной винтовки, использующей новый патрон с бездымным порохом (не все военные считали преимущества магазинных винтовок достаточно значительными для вооружения ими всей армии, что было обусловлено в том числе и отсутствием до второй половины 1880-х годов однозначно удачной применительно к военной винтовке конструкции магазина).
Консерватизм и выжидательная позиция, занятая военным ведомством из нежелания повторять ошибки 1860—1870 годов (когда за период с 1860 по 1870 год было в лихорадочном порядке принято на вооружение не менее 6 различных систем винтовок под разные патроны, большая часть из которых успела устареть ещё до начала своего массового производства), приведшие к событиям, окрещённым военным министром Д. А. Милютиным «нашей несчастной ружейной драмой», привели к некоторому торможению работ по созданию российской магазинной винтовки, — что, однако, впоследствии позволило избежать неприятных ситуаций, в которых оказались французы, поспешно приняв на вооружение винтовку Лебеля с очень быстро сделавшим её устаревшей подствольным магазином, или англичане и австрийцы, которые сначала приняли магазинные винтовки под патрон с дымным порохом, и уже вскоре были вынуждены лихорадочно переделывать их под бездымный.
Так как любое оружие создаётся в первую очередь на основе имеющегося боеприпаса, одновременно велись работы по созданию нового патрона.
В 1886 году Лоренцу из Германии была заказана партия опытных патронов уменьшенного калибра.
В 1887 году была налажена связь со швейцарским профессором Хеблером, от которого были получены материалы опытов, консультации и указания. Хеблер советовал принять видевшийся ему наиболее перспективным калибр порядка 7,6 мм и пулю в стальной оболочке, а также прислал 1000 патронов своей разработки с дымным порохом.
В 1888 году в Россию прибыли заграничные 8-мм винтовки: австрийская Манлихера и датская Краг-Йоргенсена. Выяснилось, что австрийские и датские винтовки давали лучшую кучность и меткость боя, чем испытывавшиеся Комиссией опытные русские винтовки, но скорость их пуль была недостаточна (508—530 м/с) из-за использования дымного пороха, а запирающий механизм вместе с другими деталями винтовок был признан совершенно неудовлетворительным. Тот же самый вывод был сделан относительно винтовок и патронов Хеблера.
В начале 1889 года Комиссия по неофициальным каналам получила французскую винтовку Лебеля, использовавшую бездымный порох, — с гильзами и пулями, но без самого пороха. Она также была испытана — с русским бездымным порохом. Конструкция ствола и затвора этой винтовки были признаны заслуживающими внимания, однако трубчатый подствольный магазин оказался неудовлетворительным.
Русский бездымный порох удовлетворительного качества был получен в 1889 году благодаря успешным опытам Д. И. Менделеева. В том же году полковником Н. Ф. Роговцевым был разработан 7,62-мм патрон по образцу нового 8-мм австрийского M1888, но снаряжённый бездымным порохом и имеющий пулю в мельхиоровой оболочке, не столь сильно изнашивавшей ствол и не ржавевшей, как стальная, и при этом более прочной, чем медная. Надлежащий капсюль появился лишь в 1890 году.
Хотя к тому времени в некоторых странах, в первую очередь — в имевшей весьма высокоразвитую производственную базу Германии, уже были введены патроны с кольцевой проточкой на гильзе, более компактные и удобные для подачи из магазина, русский патрон сохранял выступающую закраину, в основном по причине того, что это позволяло изготавливать как гильзу, так и патронник ствола с бо́льшими допусками. Отмечались и иные преимущества патрона с закраиной, — например, он был удобнее при снаряжении магазина или заряжании винтовки по одному патрону, что было вполне реальной возможностью при выходе магазина из строя или отсутствии снаряжённых патронных обойм, так как удобнее и быстрее вытаскивался солдатом из патронной сумки. По тем временам это не было необычным — такую же закраину имели штатные французский 8×50 мм R Лебель, английский .303 British (7,7×56 мм R), американский .30-40 Krag (7,62×58,8 мм R) и австро-венгерский M1888 (8×50 мм R Mannlicher) патроны. Лишь впоследствии выявилось большое неудобство такого патрона для использования в автоматическом оружии, но и это не помешало некоторым из вышеупомянутых образцов оставаться на вооружении вплоть до конца Второй мировой войны. Более того, даже в 1930-е годы в некоторых странах продолжали разрабатывать и принимать на вооружение новые винтовочные патроны с закраиной, например австрийский патрон M30S 8×56 мм R обр. 1930 года, принятый также в Венгрии.
Впрочем, даже и на этом этапе вопрос о калибре, видимо, ещё не был окончательно решён, так как вскоре началась проработка 6,5-мм патрона[4].
Создание винтовки
В 1889 году Сергей Иванович Мосин предложил на конкурс трёхлинейную (7,62 мм) винтовку, выработанную на основе его же более ранней однозарядной, от которой была позаимствована практически без изменений затворная группа и ствольная коробка[6]; некоторые идеи относительно конструкции магазина при этом были позаимствованы у испытывавшейся в том же году новейшей австро-венгерской винтовки системы Манлихера с пачечным заряжанием рядного серединного магазина, который был признан полностью соответствующим всем выставлявшимся требованиям.
Позднее, в самом конце того же года, бельгиец Леон Наган также предложил на конкурс свою систему (в том же 1889 году уже проигравшую в конкурсе на вооружение бельгийской армии винтовке Маузера). Винтовок Нагана было три экземпляра, все магазинные, калибром около 8 мм, хотя Наган взялся изготовить винтовку и калибром 7,62 мм. Система Нагана была признана в целом доброкачественной, но требующей доработки. Особенный интерес Комиссии вызвал магазин удачной конструкции с заряжанием из обойм, напоминавший магазин только что принятой в Бельгии винтовки системы Маузера[6].
В результате их испытания, а также сравнительных испытаний с австрийской винтовкой Манлихера, стало возможно окончательно определиться с требованиями к новой винтовке, современным языком — составить на неё техническое задание. Было решено принять калибр 7,62 мм (три русские линии), ствол и прицел по образцу Лебеля (но с изменением направления хода нарезки с принятого во Франции левого на правый), продольно-скользящий поворотный затвор, запирающийся отдельной боевой личинкой (так как замена личинки в случае поломки обходится дешевле замены всего затвора), магазин серединный, постоянный, с заряжанием из рамочной обоймы пятью патронами. Комиссия была вследствие этого в 1889 году переименована в Комиссию для выработки образца малокалиберного ружья.
Так как ни винтовка Мосина, ни винтовки Нагана требованиям этим в полной мере не соответствовали, конструкторам было предложено на их основе разработать новые системы, которые, таким образом, были изначально обречены быть в значительной мере схожи конструктивно, будучи созданы на основе одних и тех же разработанных Комиссией ствола и патрона, в комплексе определяющих все баллистические свойства оружия, и в силу выставленных ей требований используя одинаковые по типу затвор и магазин, а различия имея лишь в конкретном конструктивном оформлении этих элементов. По сути, перед Мосиным и Наганом была поставлена задача создания своих вариантов затворных групп и магазинов для уже имевшегося ствола.
Одновременно в 1890 году были рассмотрены ещё 23 системы, не показавшие, однако, преимущества перед уже отобранными для дальнейшего сравнения Нагана и Мосина.
После доставки из Бельгии опытной партии доработанных 3-линейных винтовок Нагана осенью 1890 года начались широкомасштабные сравнительные испытания обеих систем.
По результатам начальных испытаний винтовка Нагана показала некоторое преимущество, и на первом этапе конкурса Комиссия проголосовала за неё 14 голосами против 10. Впрочем, это голосование не было определяющим, так как первый этап конкурса носил по сути ознакомительный характер. К тому же, многие члены комиссии посчитали, что испытания показали равноценность представленных образцов — данная конструкции Мосина предварительная оценка по их мнению была связана главным образом с более низким качеством отделки по сравнению с демонстрационными образцами Нагана, при этом винтовка Мосина в целом была проще и конструктивно надёжнее. Разница в качестве отделки же была вполне естественна, с учётом того, что винтовки Мосина на тот момент представляли собой изготовленные в полукустарных условиях рядовые опытные образцы оружия, находящегося на самой ранней стадии доводки — в то время, как представленные для сравнения с ними винтовки Нагана, исполненные «с изумительной точностью» и очень хорошо отделанные, представляли собой дальнейшее развитие конструкции, в своё время уже представленной на конкурс в Бельгии и готовой к массовому производству ещё в 1889 году[4][6]. Более того, писалось, что[6][7]:
Принимая во внимание, …что представленные капитаном Мосиным на опыты ружья и обоймы изготовлены были при условиях крайне неблагоприятных и вследствие того очень неточно, ружья же и обоймы Нагана, напротив того, оказались изготовленными изумительно точно, генерал-лейтенант Чебышев не нашёл возможным согласиться с заключением, что обе испытанные системы одинаково хороши. По его мнению, ввиду изложенных обстоятельств, система капитана Мосина имела громадное преимущество.
Более детально ознакомившись с обеими системами и результатами войсковых испытаний (испытывались 300 винтовок Мосина и 300 винтовок Нагана), члены Комиссии пересмотрели своё мнение. На испытательных стрельбах винтовки Мосина дали 217 задержек при подаче патронов из магазина, а Нагана — 557, почти втрое больше. Учитывая тот факт, что конкурс по сути сводился именно к поиску оптимальной конструкции магазина, одно это вполне однозначно говорило о преимуществе системы Мосина с точки зрения надёжности, несмотря ни на какие «неблагоприятные условия». Кроме того, Комиссия пришла к выводу, что[6][8]:
…пачечные ружья иностранца Нагана сравнительно с такими же кап. Мосина представляют собой механизм более сложный для выделки… и сама стоимость каждого экземпляра ружья несомненно увеличится.
Причём речь шла о более чем существенных затратах: даже по самым скромным подсчётам, производство системы Нагана дало бы дополнительные издержки в размере от 2 до 4 млн золотых рублей на первый миллион выпущенных винтовок, то есть по 2-4 рубля на каждую, при том, что общая сумма, требуемая на перевооружение одного русского солдата, в среднем составляла около 12 рублей. Кроме того, требовались дополнительно 3-4 месяца на освоение конструкции промышленностью, в условиях уже наметившегося отставания России от развитых европейских стран в перевооружении новым стрелковым оружием, при том, что винтовка Мосина уже готовилась к производству и была специально рассчитана на высокую степень технологической преемственности с уже выпускавшейся винтовкой Бердана[6].
Так что в 1891 году, по завершении войсковых испытаний, Комиссия выработала компромиссное решение: принята была винтовка, разработанная на основе конструкции Мосина, но с существенными изменениями и дополнениями, как позаимствованными из конструкции Нагана, так и выполненными с учётом предложений самих членов Комиссии.
Из опытной винтовки Мосина напрямую в ней были использованы планка запирающего механизма, устройство предохранительного взвода, затвор, отсечка-отражатель, защёлка магазинной крышки, способ соединения подавателя с крышкой, дающий возможность отсоединять крышку с подавателем от магазина, шарнирная антабка; из системы Нагана — идея помещения подающего механизма на дверце магазина и открывание её вниз, способ наполнения магазина спусканием из обоймы патронов пальцем, — следовательно, пазы для обоймы в ствольной коробке и, собственно, сама патронная обойма. Остальные части были выработаны членами Комиссии, при участии Мосина.
Изменения, заимствованные из винтовки Нагана (форма обоймы для заряжания, крепление подающей пружины к крышке магазина, форма отсечки-отражателя) несколько повысили удобство обращения с винтовкой, но даже в случае их удаления не лишали её функциональности. Например, если вообще отказаться от обойменного заряжания, магазин можно снаряжать по одному патрону. Если отсоединить подающую пружину от магазинной крышки, патроны будут по-прежнему подаваться, хотя повышается риск потерять пружину при чистке. Таким образом, роль этих изменений является вторичной по отношению к назначению и функционированию оружия и не даёт оснований для отказа признавать Мосина автором или ставить имя Нагана в название образца, не упоминая при этом авторов прочих, не менее важных, чем позаимствованные из его системы, добавлений.
Вероятно, наиболее полно отражающим авторство конструкции этой винтовки было бы название «Комиссионная винтовка образца 1891 года», по аналогии с немецкой «Комиссионной винтовкой» (Kommissionsgewehr) образца 1888 года, также выработанной в своё время комиссией на основе систем Маннлихера и Маузера.
Авторство новой винтовки абсолютно чётко сформулировал тогдашний военный министр П. С. Ванновский в своей резолюции по поводу принятия образца на вооружение[6]:
В изготовляемом новом образце имеются части, предложенные полковником Роговцевым, комиссией генерал-лейтенанта Чагина, капитаном Мосиным и оружейником Наганом, так что целесообразно дать выработанному образцу наименование: русская 3-лин. винтовка образца 1891 года.
16 апреля 1891 года император Александр III утвердил образец, вычеркнув слово «русская», поэтому на вооружение винтовка была принята под наименованием «трёхлинейная винтовка образца 1891 года»[4].
За Мосиным оставили права на разработанные им отдельные части винтовки и присудили ему Большую Михайловскую премию (за выдающиеся разработки по артиллерийско-стрелковой части)[4].
Это было не первым случаем, когда образец, созданный на основе определённой системы с обширными добавлениями, принимался на вооружение русской армии под обезличенным индексом, без упоминания имени автора исходной системы; например, винтовка, выработанная на основе системы Карле (в оригинальной русской документации — Карля), в 1867 году была принята как «скорострельная игольчатая винтовка образца 1867 года».
Впоследствии, однако, стали раздаваться голоса о том, что такое наименование нарушало устоявшуюся традицию именования образцов стрелкового оружия русской армии, так как фамилия конструктора была вычеркнута из названия принятого на вооружение образца. В итоге, в 1924 году[5] в названии винтовки появилась фамилия Мосина.
При этом, и в Наставлении 1938 и его переиздании 1941 года, в брошюре для ОСОАВИАХИМа 1941 года «Винтовка и её применение», и в Наставлении 1954 года винтовка (в варианте после модернизации 1930 года) названа просто — «обр. 1891/30 гг.», без упоминания каких-либо фамилий, — при том, что обозначения иных образцов (самозарядные винтовка и карабин Ф. В. Токарева, пистолет-пулемёты Г. С. Шпагина и А. И. Судаева и др.) в аналогичной литературе практически всегда снабжались примечаниями вида «конструкции такого-то» или «системы такого-то». Таким образом, вероятно, что и в этот период официально по отношению к винтовке продолжали использовать «обезличенное» наименование по годам её принятия на вооружение. В наставлении от 1938 года авторство винтовки также указано напрямую:
7,62-мм. винтовка обр. 1891 г., принятая на вооружение русской армии в 1891 г., была сконструирована капитаном Мосиным совместно с другими членами образованной для этого комиссии.
— то есть, точно так же указывает на «комиссионное» происхождение конструкции винтовки, хотя и не упоминая напрямую об отдельных заимствованиях из системы Нагана. За рубежом рядом с именем Мосина часто ставится имя Нагана, так же как и в названиях пистолетов «Токарев-Кольт» и «Макаров-Вальтер»[9].
Производство и эксплуатация
Производство винтовки началось в 1892 году на Тульском, Ижевском и Сестрорецком оружейных заводах. Из-за ограниченных производственных мощностей этих заводов заказ на 500 тысяч винтовок был размещён на французском оружейном заводе в городе Шательро (Manufacture Nationale d’Armes de Châtelleraut).
Первое боевое испытание винтовка Мосина прошла в 1893 году в столкновении российского отряда на Памире с афганцами[10], по другим источникам — в ходе подавления восстания ихэтуаней («боксёров») в Китае в 1900—1901 годах.
Уже в первые годы после принятия винтовки на вооружение в ходе производства и эксплуатации оружия в исходную конструкцию начали вносить изменения. Так, в 1893 году ввели деревянную ствольную накладку для защиты рук стрелка от ожога, в 1896 году — новый шомпол, более длинный и с головкой увеличенного диаметра, не проходящей ствол, что упростило чистку оружия. Ликвидировали насечку на боках крышки магазинной коробки, которая при ношении оружия протирала обмундирование. Эти усовершенствования вносили и в конструкцию ранее выпущенных винтовок.
21 марта 1897 года была выпущена 500-тысячная винтовка[11]. В конце 1897 года первая очередь перевооружения русской армии винтовкой обр. 1891 г. была завершена и в 1898 году началась вторая очередь перевооружения[12].
К началу русско-японской войны в армию было поставлено примерно 3 800 000 винтовок.
После принятия на вооружение в 1908 году патрона с остроконечной («наступательной») пулей в 1910 году на вооружение был принят новый вариант винтовки с прицелом системы Коновалова, соответствующим баллистике нового патрона. Новая пуля весила 9,7 г и давала начальную скорость из казачьей винтовки — 850 м/с, из пехотной — 880 м/с. Вес патрона — 22,55 г.
В результате к началу войны 1914 г. японцы оказались вооружёнными почти первоклассной винтовкой, русская же армия осталась с винтовкой, уступающей германской, австрийской и турецкой винтовкам, недостаточно живучей и с уменьшенной скорострельностью; винтовка по-прежнему имела постоянно примкнутый штык, вредный для меткой стрельбы.
К моменту вступления России в Первую мировую войну на вооружении русской армии имелось 4 519 700 винтовок[13], в производстве находились четыре варианта винтовки — драгунская, пехотная, казачья и карабин. В течение войны военная промышленность России изготовила 3 286 232 трёхлинейных винтовок, отремонтировала и исправила 289 431[14].
Из-за недостатка оружия ввиду внезапности начала войны правительство начало закупать за границей винтовки нескольких иностранных систем, а также заказало в США у компаний Remington и Westinghouse 1,5 миллиона винтовок обр. 1891/10 гг. Часть из них никогда не была поставлена России — после Революции их конфисковало правительство США. Сегодня винтовки Мосина американского производства — одни из самых редких и представляющих наибольшую коллекционную ценность, наряду с винтовками, произведёнными во Франции в городе Шательро. Из-за всё той же нехватки оружия приходилось даже вооружать стрелков импортным оружием под нештатный патрон — так, по воспоминаниям оружейника Фёдорова, весь русский Северный фронт с 1916 года был вооружён 6,5-мм винтовками Арисака, дополненными незначительным количеством использовавших тот же самый патрон «автоматов» (автоматических винтовок) системы самого Фёдорова, имевшихся у отборных стрелков в составе роты[15].
Большое количество винтовок было захвачено немецкими и австро-венгерскими войсками.
В ходе военных действий были выявлены существенные недостатки винтовки в её тогдашнем виде, в первую очередь связанные с неудачной конструкций обоймы, снижавшей скорострельность в боевых условиях, и оформлением отдельных элементов фурнитуры, вроде крепления штыка с хомутиком, устройства шомпольного упора или конструкции ложевых колец, которые при прямом сравнении с германскими и австрийскими образцами оставляли весьма неблагоприятное впечатление. Наибольшее число проблем, однако, доставили отставание отечественной промышленности и крайняя спешка при изготовлении винтовок в предвоенный период, из-за чего каждая из них требовала тщательной подгонки частей и отладки для обеспечения надёжного функционирования, что усугублялось недавним переходом на остроконечные патроны, более требовательные к работе подающего механизма, а также неизбежным в условиях окопной войны сильным загрязнением как винтовок, так и патронов. Взятые из запаса и переданные на фронт без доработки винтовки давали множество задержек при перезаряжании, некоторые из них не могли отстрелять и одного полного магазина без нарушения подачи. Были вскрыты также многочисленные организационные недостатки, в первую очередь — отвратительная подготовка рядовых стрелков и плохое снабжение, в частности, отсутствие качественной упаковки отправляемых на фронт патронов[15].
Во время гражданской войны в России производились два типа винтовок — драгунская и, в значительно меньших количествах, пехотная. После окончания войны, с 1922 года, производились только драгунская винтовка и карабин обр. 1907 года[16].
В первые годы Советской власти развернулась широкая дискуссия по поводу целесообразности модернизации или замены имеющегося образца винтовки более совершенным. В её ходе был сделан вывод о том, что винтовка обр. 1891 года, хотя и уступая новым зарубежным аналогам, при условии ряда улучшений всё же вполне удовлетворяет имеющимся требованиям к данному виду оружия. Также было отмечено, что введение нового образца магазинной винтовки было бы по сути бессмысленно, так как сама по себе магазинная винтовка является стремительно устаревающим видом оружия, и затраты на разработку его принципиально нового образца были бы пустой тратой средств. Кроме того, отмечалось, что смена образца винтовки необходимо должна сопровождаться и сменой штатного винтовочного патрона на новый, лишённый недостатков существующего трёхлинейного, в частности, имеющий меньший калибр при большей поперечной нагрузке пули и гильзу без закраины — разработка полностью нового образца винтовки под устаревший патрон также расценивалась как не имеющая смысла. При этом состояние экономики, всё ещё выходившей из послереволюционной разрухи, отнюдь не давало поводов для оптимизма в отношении возможности такого масштабного перевооружения — как и предлагаемого Фёдоровым полного перевооружения Красной армии автоматической (самозарядной) винтовкой. Введение же самозарядной винтовки в дополнение к существующей магазинной сам Фёдоров считал бесполезным, так как получаемый при этом выигрыш в огневой мощи пехотного отделения был ничтожным — вместо этого он рекомендовал при сохранении магазинной винтовки текущего образца дополнить её большим количеством лёгких ручных (в его терминологии — «манёвренных») пулемётов вновь выработанного удачного образца[15].
По итогам дискуссии в 1924 году был образован комитет по модернизации винтовки обр. 1891 года.
В результате модификации драгунского варианта винтовки, как более короткого и удобного, появилась единая модель — винтовка образца 1891/1930 гг. (Индекс ГРАУ — 56-В-222). Хотя она и содержала в себе целый ряд улучшений относительно исходного образца, по сравнению с аналогами, имевшимися на вооружении армий государств-вероятных противников СССР, она всё же выглядела не самым лучшим образом. Однако магазинная винтовка к тому времени уже не была единственным видом стрелкового оружия пехоты, поэтому в те годы ставка была сделана в первую очередь на создание более современных и совершенных его видов — пистолетов-пулемётов, пулемётов, самозарядных и автоматических винтовок.
В 1920-е — 1930-е годы в СССР винтовки Мосина использовались в системе всевобуча и ОСОАВИАХИМа для обучения стрельбе, широкое распространение получило движение «ворошиловских стрелков».
В 1928 году в СССР был начат серийный выпуск первых образцов оптических прицелов, специально разработанных для установки на винтовку обр. 1891 года[17].
В 1932 году также началось серийное производство снайперской винтовки обр. 1891/30 гг. (Индекс ГРАУ — 56-В-222А), отличавшейся улучшенным качеством обработки канала ствола, наличием оптического прицела ПЕ, ПБ или (впоследствии) ПУ и отогнутой вниз рукоятью затвора. Всего было выпущено 108 345 шт. снайперских винтовок, они интенсивно использовались в ходе Советско-финской и Великой Отечественной войны и зарекомендовали себя как надёжное и эффективное оружие. В настоящее время снайперские винтовки Мосина представляют коллекционную ценность (особенно «именные» винтовки, которыми награждали лучших советских снайперов).
В 1938 году был также принят модернизированный аналогично основному образцу карабин обр. 1938 года, представлявший собой модификацию карабина образца 1907 года. Он стал длиннее своего предшественника на 5 мм и был рассчитан на ведение прицельной стрельбы на дальность до 1000 м. Карабин предназначался для различных родов войск, в частности артиллерии, сапёрных войск, кавалерии, подразделений связи и служащих материально-технического обеспечения, например водителей транспорта, которым было необходимо лёгкое и простое в обращении оружие большей частью для самообороны[18].
Последним из вариантов винтовки стал карабин обр. 1944 года, отличавшийся наличием несъёмного игольчатого штыка и упрощённой технологией изготовления. Одновременно с его введением сама винтовка образца 1891/1930 гг. с производства была снята. Уменьшение длины пехотного оружия явилось настоятельным требованием, выдвинутым опытом Великой Отечественной войны. Карабин позволил повысить манёвренность пехоты и других родов войск, так как с ним стало удобнее вести бой в различных земляных укреплениях, зданиях, густых зарослях и т. п., причём боевые качества его как в огневом, так и в штыковом бою по сравнению с винтовкой практически не снизились[19].
После принятия на вооружение в 1938 году достаточно удачной самозарядной винтовки Токарева (СВТ) предполагалось, что в начале 1940-х годов она практически полностью вытеснит в РККА винтовку Мосина и станет основным оружием советской пехоты, вслед за армией США, принявшей в 1936 году на вооружение самозарядную винтовку Гаранда. По довоенным планам, в 1941 году предполагалось выпустить 1,8 млн СВТ, в 1942 — 2 млн[20]. Фактически к началу войны было изготовлено свыше 1 млн СВТ, и многие части и соединения первой линии, в основном в западных военных округах, получили штатное количество самозарядных винтовок.
Однако планы полного перевооружения Красной Армии автоматическим оружием не были выполнены в связи с началом Великой Отечественной войны — с 1941 года производство СВТ как более сложной в сравнении с магазинной винтовкой и пистолетом-пулемётом было сокращено во много раз, и одним из основных видов оружия советской армии оставалась модернизированная винтовка обр. 1891 года, хотя и дополненная весьма существенным количеством (более половины от общего количества стрелкового оружия на конец войны) самозарядных винтовок и пистолетов-пулемётов.
В 1931 году было произведено 154 000, в 1938 году — 1 124 664, в 1940 году — 1 375 822[21].
В 1943 году на оккупированной территории Белоруссии инженер-железнодорожник Т. Е. Шавгулидзе разработал конструкцию 45-мм ружейного гранатомёта, в общей сложности, в 1943—1944 годах в мастерских Минского партизанского соединения советскими партизанами были изготовлены 120 винтовочных гранатомётов системы Шавгулидзе, которые устанавливались на винтовки системы Мосина[22].
Производство основной винтовки обр. 1891/30 гг. было прекращено в начале 1945 года. Карабин обр. 1944 года выпускался вплоть до начала производства автомата Калашникова[23]. Винтовки и карабины постепенно снимали с вооружения армии, заменяя карабином СКС и автоматом Калашникова (хотя некоторое количество карабинов обр. 1944 года продолжали использовать в системе военизированной охраны[24]).
В 1959 году Ижевский завод укоротил стволы и ложи сохранившихся винтовок обр. 1891/30 гг. до размеров карабина обр. 1938 года. «Новые» карабины были выпущены в большом количестве и поступили на вооружение вневедомственной охраны и других гражданских организаций. На Западе они получили обозначение 1891/59[25].
Винтовки и карабины Мосина продолжали использовать в армиях Восточной Европы и по всему миру ещё несколько десятилетий. В качестве оружия пехоты и бойцов нерегулярных вооружённых формирований винтовки Мосина использовались во многих войнах — от Кореи и Вьетнама до Афганистана и конфликтов на постсоветском пространстве[26][27].
В июне 2019 на выставке «Армия-2019» была представлена модернизированная версия винтовок Мосина и СВ-98 с новым ложем. По информации разработчиков, современный образец имеет точность стрельбы, в полтора раза превышающую этот показатель у обычного оружия. Новый обвес позволяет использовать различные прицельные приспособления.
Усовершенствованной винтовкой заинтересовались в Росгвардии, где её предполагается использовать на начальном этапе подготовки снайперов. Стоимость переделки составляет порядка 60 тысяч рублей.
Конструкция и принцип действия
Ствол винтовки — нарезной (4 нареза, вьющихся слева-вверх-направо). У ранних образцов форма нареза трапецеидальная. Позже, когда убедились, что наволакивания металла пули на ствол не происходит, — простейшая прямоугольная. Калибр ствола, измеряемый как расстояние между противоположными полями нарезов, номинально равен 7,62 мм, или 3 русским линиям[1] (реально, как показывают измерения, проведённые на большом количестве винтовок различных годов выпуска и различной степени сохранности, — 7,62…7,66 мм). Калибр по нарезам равен 7,94…7,96 мм.
В задней части ствола расположен патронник с гладкими стенками, предназначенный для помещения патрона при выстреле. С нарезной частью ствола он соединяется при помощи пульного входа. Над патронником расположено заводское клеймо, позволяющее идентифицировать производителя и год выпуска винтовки[1].
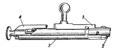
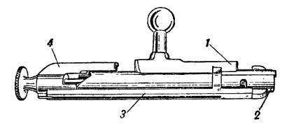
Сзади на пенёк ствола, имеющий резьбу, наглухо навинчена ствольная коробка, которая служит для помещения затвора. К ней, в свою очередь, прикреплены магазинная коробка с подающим механизмом, отсечка-отражатель и спусковой механизм[1].
Магазинная коробка (магазин) служит для помещения 4 патронов и подающего механизма. Имеет щёки, угольник, спусковую скобу и крышку, на которой смонтирован подающий механизм[1].
Патроны в магазине расположены в один ряд, в таком положении, чтобы их закраины не мешали подаче.
Отсечка-отражатель управляется движением затвора и служит для отделения патронов, подаваемых из магазинной коробки в ствольную, предотвращая возможные задержки при подаче, вызываемые зацеплением закраин патронов друг за друга, а также играет роль отражателя стрелянных гильз. До модернизации 1930 года она представляла собой единую деталь, после — состояла из лопасти с отражательным выступом и пружинной части[1].
Отсечка-отражатель считается одной из ключевых деталей конструкции винтовки, введённых Мосиным, обеспечивающей надёжность и безотказность работы оружия в любых условиях. Вместе с тем, само её наличие было вызвано использованием устаревших патронов с закраиной, не очень удобных для подачи из магазина.
Впрочем, даже и магазины системы Ли, принятые к английским винтовкам Ли-Метфорд и Ли-Энфилд, также использовавшим патрон с закраиной, не имели отсечки-отражателя, вместо которой магазин имел пружинные губки сверху и ромбовидную форму в профиль, благодаря которой патроны располагались в нём так, что закраина верхнего патрона вставала перед закраиной следующего за ним, и зацепление их было исключено (ёлочка). Именно эта схема в дальнейшем стала общепринятой для магазинов под рантовые (имеющие закраину) патроны.
Спусковой механизм состоит из спускового крючка, спусковой пружины, служащей также шепталом, винта и шпильки[1]. Спуск винтовки — длинный, достаточно тугой и без «предупреждения», — то есть, ход спускового крючка не разделён на две стадии с различающимся усилием.
Затвор винтовки служит для досылания патрона в патронник, запирания канала ствола в момент выстрела, производства выстрела, извлечения стрелянной гильзы или осечного патрона из патронника[1].
Состоит из стебля с гребнем и рукоятью, боевой личинки, выбрасывателя, курка, ударника, боевой пружины и соединительной планки. На снайперской винтовке рукоять затвора удлинена и отогнута книзу для повышения удобства перезаряжания оружия и возможности установки оптического прицела[1].
В затворе размещены ударник и витая цилиндрическая боевая пружина. Сжатие боевой пружины происходит при отпирании затвора поворотом рукояти; при запирании — боевой взвод ударника опирается на шептало. Возможно взведение ударника вручную при закрытом затворе, для этого необходимо оттянуть назад курок (в данном случае курком называется наконечник, навинченный на хвостовик ударника). Для постановки на предохранитель курок нужно оттянуть назад до отказа и повернуть против часовой стрелки.
Ложа соединяет части оружия, она состоит из цевья, шейки и приклада. Ложа винтовки Мосина цельная, из берёзовой или ореховой древесины. Шейка ложи прямая, более прочная и пригодная для штыкового боя, хотя и менее удобная при стрельбе, чем полупистолетные шейки лож многих более поздних образцов. С 1894 г. введена отдельная деталь — ствольная накладка, которая прикрывает ствол сверху, предохраняя его от повреждения, а руки стрелка — от ожога. Приклад драгунской модификации несколько у́же, а цевьё тоньше, чем пехотной.
Ложа и ствольная накладка крепятся к механизмам оружия при помощи двух винтов и двух ложевых колец с колечными пружинами. Ложевые кольца разрезные на основной массе винтовок и глухие на драгунской обр. 1891 года[1].
Состояли из прицела и мушки.
Прицел — ступенчатый на винтовке обр. 1891 года, секторный на винтовке обр. 1891/30 года. Состоит из прицельной планки с хомутиком, прицельной колодки и пружины[1].
На винтовке обр. 1891 года прицел был проградуирован в сотнях шагов. На прицельной планке имелось два целика: один использовался при стрельбе на 400, 600, 800, 1 000 и 1 200 шагов, а второй, для использования которого необходимо было поднять прицельную планку в вертикальное положение, — на дистанции от 1 300 до 3 200 шагов. Также существовало два варианта рамочного прицела: изначальный вариант, использовавшийся до 1910 года и рассчитанный на тяжёлую пулю, и модернизированный, с планкой системы Коновалова, рассчитанной на лёгкую остроконечную «наступательную» пулю патрона обр. 1908 года. На винтовке обр. 1891/30 годов прицел размечен до дистанции в 2 000 метров; единственный целик может быть установлен в любое положение от 50 до 2 000 м с шагом 50 м[1].
Мушка расположена на стволе близ дульного среза. У обр. 1891/30 годов получила кольцевой намушник[1].
В 1932 году началось серийное производство снайперской винтовки обр. 1891/31 годов (Индекс ГАУ — 56-В-222А), отличавшейся улучшенным качеством обработки канала ствола, наличием оптического прицела ПЕ, ПБ или ПУ и отогнутой вниз рукоятью затвора.
Служит для поражения противника в рукопашном бою. Имеет четырёхгранное лезвие с долами, трубку со ступенчатой прорезью и пружинной защёлкой, крепящую штык к стволу, и соединяющую их шейку[1].
Винтовка приводилась к нормальному бою со штыком, то есть, при стрельбе он должен был быть примкнут, — иначе точка попаданий существенно смещалась и на сравнительно большой дистанции попасть из оружия во что-либо без нового приведения к нормальному бою становилось почти невозможно. При стрельбе со штыком на дистанции 100 м средняя точка попадания (СТП) отклоняется на приведённой к нормальному бою без него винтовке влево на 6-8 см и вниз на 8-10 см, что компенсируется новым приведением к нормальному бою[28].
Вообще, штык должен был находиться на винтовке по сути постоянно, в том числе при хранении и на марше, за исключением передвижения железнодорожным[1] или автомобильным транспортом. Наставление предписывало снимать штык, помимо вышеотмеченных случаев, лишь при разборке винтовки для чистки, причём предполагалось, что от постоянного нахождения на оружии он может сниматься туго[1].
До 1930 года пружинной защёлки не было, вместо чего штык крепился на стволе при помощи штыкового хомутика, форма лезвия также несколько отличалась. Практика показала, что со временем такое соединение склонно к разбалтыванию. В 1930 году способ крепления изменили, однако винтовки по-прежнему пристреливали со штыками. Часть модернизированных винтовок также имела штык с намушником (ранний вариант), позднее намушник стали делать на самой винтовке.
Карабин обр. 1944 года имел неотъёмный перекидной штык собственного образца конструкции Сёмина[1]. Пристрелка карабинов производится со штыком в боевом положении[29].
.
На каждую винтовку полагалась принадлежность, состоявшая из протирки, отвёртки, дульной накладки для чистки ствола, шомпольной муфты, шпильки, щетинного ёршика, маслёнки с двумя отделениями — для раствора чистки стволов и масла, а также ружейный ремень.
Для заряжания винтовки необходимо[30]:
- Повернуть рукоять затвора влево;
- Отвести затвор назад до отказа;
- Вставить обойму в пазы ствольной коробки; утопить патроны и выбросить обойму;
- Дослать затвор вперёд;
- Повернуть рукоятку затвора вправо.
После этого винтовка немедленно готова к производству выстрела, для чего стрелку остаётся лишь нажать на спусковой крючок. Для производства следующего выстрела повторить пункты 1, 2, 4 и 5. Четыре патрона из обоймы подаются в магазин, а верхний остаётся в ствольной коробке, отделённый от остальных лопастью отсечки, и при закрывании затвора досылается в патронник.
- Вынуть затвор, для чего, удерживая спусковой крючок нажатым, повернуть рукоятку влево вверх и тянуть назад до конца.
- Снять штык.
- Вывинтить и вынуть шомпол.
- Отделить крышку магазинной коробки.
- Разобрать затвор[1].
Кучность боя и эффективность огня
Винтовка образца 1891 года на момент принятия её на вооружение являлась высокоточным оружием, позволяющим уверенно поражать одиночную цель на дистанции до 400 м, групповую — на дистанции до 800 м[1], снайпером с использованием оптики (начиная с 1931 года) — до 1300 м (прицел ПУ);
В таблице ниже представлены результаты стрельбы из рядового экземпляра винтовки образца 1891/30 года лёгкой пулей обр. 1908 года с начальной скоростью 865 м/с. Срединное отклонение — половина ширины центральной полосы рассеивания, вмещающей 50 % всех попаданий[c].
| Срединные отклонения, см: | |||||||||||||
|---|---|---|---|---|---|---|---|---|---|---|---|---|---|
| Расстояние | по высоте | боковое | |||||||||||
| 100 | 3 | 2 | |||||||||||
| 200 | 4 | 4 | |||||||||||
| 300 | 6 | 6 | |||||||||||
| 400 | 8 | 8 | |||||||||||
| 500 | 11 | 10 | |||||||||||
| 600 | 14 | 13 | |||||||||||
| 700 | 17 | 17 | |||||||||||
| 800 | 21 | 20 | |||||||||||
| 900 | 26 | 24 | |||||||||||
| 1000 | 33 | 29 | |||||||||||
| 1100 | 39 | 36 | |||||||||||
| 1200 | 46 | 42 | |||||||||||
| 1300 | 56 | 49 | |||||||||||
| 1400 | 65 | 56 | |||||||||||
| 1500 | 75 | 65 | |||||||||||
| 1600 | 88 | 75 | |||||||||||
| 1700 | 100 | 88 | |||||||||||
| 1800 | 120 | 100 | |||||||||||
| 1900 | 150 | 120 | |||||||||||
| 2000 | 170 | 150 | |||||||||||
В 1946 году участник Великой Отечественной войны старший сержант Немцев разработал метод скоростной стрельбы из винтовки. На полигоне Рязанского пехотного училища он сумел произвести из винтовки 53 прицельных выстрела в минуту с дистанции 100 метров по грудной мишени, поразив её 52 пулями. В дальнейшем метод скоростной стрельбы Немцева получил распространение в войсках[31].
Снайперские винтовки Мосина довоенного производства отличались изумительным, по меркам своего времени, качеством боя, во многом благодаря стволу с чоком (сужением канала от казны к дульному срезу), с разницей в диаметрах у казённой и дульной частей в 2-3 %. При выстреле из такого ствола пуля дополнительно обжимается, что не позволяет ей «гулять» по каналу ствола[28].
Достоинства и недостатки
- Цена и собственное производство;
- Пробивная способность;
- Хорошая баллистика и высокая мощность патрона (на уровне .30-06), при том, что некоторые аналоги на тот момент всё ещё использовали дымный порох;
- Большая живучесть ствола и затвора;
- Отличные прицельные приспособления, крепление для оптического прицела для снайперского варианта винтовки с 1931 г., большая прицельная дальность;
- Нетребовательность к технологии изготовления и большие допуски;
- Надёжность, безотказность действия механизмов винтовки в любых условиях;
- Простая и надёжная конструкция затвора, состоящего всего из 7 деталей; он разбирается и собирается быстро и без каких-либо инструментов[32];
- Магазинная коробка хорошо закрыта снизу;
- Прочные ложа и приклад (в ранних выпусках);
- Дешёвая рамочная обойма;
- Легко вынимаемый для чистки затвор;
- Достаточная скорострельность винтовки;
- Отдельная боевая личинка затвора, замена которой при поломке обходится намного дешевле, чем замена всего затвора;
- Дешевизна замены деревянных частей.
- Устаревший патрон с закраиной, затрудняющей подачу из магазина и потребовавшей введения по сути лишней в ином случае, достаточно сложной в изготовлении и уязвимой для повреждений детали — отсечки-отражателя (позднее в ходе модернизации заменённой на две более простые в производстве детали; тем не менее, наиболее совершенные системы магазинов обеспечивали надёжную подачу патронов с закраиной и без отсечки как отдельной детали, например магазин системы Ли к винтовкам Ли-Метфорд и Ли-Энфилд с двухрядным расположением патронов, позволивший увеличить ёмкость магазина винтовки с 5 до 8-10 патронов);
- Горизонтальное расположение боевых упоров личинки затвора при запирании, увеличивающее рассеивание; винтовки с наилучшим боем уже в то время имели вертикальное расположение боевых упоров при запертом затворе;
- Длинный и тяжёлый спуск без «предупреждения», мешающий меткой стрельбе;
- Рамочная непружинная обойма, затрудняющая заряжание; уже существовавшие на тот момент пружинные пластинчатые обоймы, в том числе и обойма Мосина, были совершеннее, хотя и дороже принятой обоймы Нагана;
- Длинный и крайне устаревший игольчатый штык с коленчатой шейкой, крепящийся на стволе, а не на ложе, затрудняющий удар в ближнем бою, требует большой физической силы для вытаскивания и повторного удара и увеличивающий вес и габариты оружия ;
- Пехотная и драгунская винтовки пристреливались со штыком, то есть, при стрельбе он должен был находиться на винтовке, иначе точка попаданий существенно смещалась, что делало готовое к бою оружие громоздким; штык со временем разбалтывался, вследствие чего меткость стрельбы из винтовки падала; казацкая винтовка пристреливалась без штыка, но всё равно была излишне тяжёлой и в целом неудобной для стрельбы с коня и ношения конником; разбалтывание штыка устранено на обр. 1891/30, но штык по-прежнему должен был находиться на оружии при стрельбе; полностью решена эта проблема была лишь на карабине обр. 1944 года введением неотъёмного перекидного штыка, который при стрельбе также оставался на оружии, но мог складываться, повышая удобство обращения с ним;
- Короткая, не отогнутая книзу рукоятка затвора, затрудняющая его открывание, особенно когда гильза туго «засела» в патроннике; сильный вынос рукоятки вперёд из-за конструкции затвора и её горизонтальное расположение без изгиба вниз, что вынуждало стрелка отнимать приклад от плеча при перезаряжании, тем снижая скорострельность; (за исключением снайперских модификаций, имевших более длинную рукоятку, отогнутую вниз); передовые образцы тех лет уже имели сильно вынесенную назад рукоять, отогнутую книзу, что позволяло перезаряжать оружие, не отнимая приклада от плеча, тем самым повышая скорострельность, — эталонной в этом отношении можно считать рукоять винтовки Ли-Метфорд;
- И опытная винтовка Мосина 1885 года, и винтовка Нагана имели вынесенную назад рукоять затвора, расположенную в специальном вырезе, отделённом от окна для выброса стреляных гильз перемычкой, что ещё и усиливало ствольную коробку; однако при испытаниях винтовки 1885 года выяснилось, что при таком расположении рукояти часто происходят задержки при перезаряжании, вызванные тем, что длинные рукава солдатской шинели попадали между стеблем затвора и ствольной коробкой, и от отдельного выреза для рукояти посчитали необходимым отказаться, вернувшись к такой же конфигурации ствольной коробки, как на винтовке Бердана[6];
- Прямая шейка приклада, менее удобная при вдумчивой стрельбе, чем полупистолетная на новейших на тот момент образцах винтовок, хотя и более удобная при стрельбе навскидку, а также более прочная и удобная в штыковом бою;
- Предохранитель Мосина, — очень простой, но неудобный в использовании и маложивучий из-за скрашивания предохранительного выступа при частом использовании. Принимая во внимание, что магазинная коробка винтовки была на 4 патрона, а заряжалась она обоймами по 5 патронов, пятый патрон после заряжания досылался в патронник. Таким образом наличие надежного предохранителя было крайне актуальным;
- Некоторое отставание от передовых иностранных аналогов в оформлении мелких деталей и фурнитуры, например — устаревшие и быстро расшатывающиеся ложевые кольца, уязвимый для ударов прицел, менее удобные, чем боковые, нижние «пехотные» антабки (с 1910 года заменённые на также не самые удобные щели для прохода ремня, изначально имевшиеся на драгунской винтовке), неудобный упор шомпола и т. д.;
- Низкое качество деревянных деталей из-за использования дешёвого дерева, особенно на поздних выпусках[33].
Варианты
| Образец | Пехотная винтовка образца 1891 г. и образца 1891/10 г. |
Драгунская винтовка образца 1891 г. и образца 1891/10 г. |
Казачья винтовка образца 1891 г. и образца 1891/10 г. |
Карабин образца 1907 г. и образца 1907/10 г. |
Винтовка образца 1891/30 г. |
Снайперская винтовка образца 1891/30 г. |
Карабин образца 1938 г. |
Карабин образца 1944 г. |
Финская винтовка образца 1891/24 г. |
Польская винтовка образца 1891/23 г. |
| Патрон | 7,62×54 мм R | 7,92×57 мм | ||||||||
| Масса оружия, кг, без штыка со штыком |
4,0 4,3 |
3,9 4,2 |
3,9 — |
3,6 — |
3,8 4,1 |
3,8 — |
3,5 — |
— 3,8 |
3,8 4,3 |
3,7 4,0 |
| Длина оружия, мм, без штыка со штыком |
1310 1740 |
1240 1670 |
1240 — |
1020 — |
1240 1670 |
1240 — |
1020 — |
1020 1330 |
1190 1490 |
1110 1420 |
| Длина ствола, мм | 800 | 730 | 730 | 510 | 730 | 730 | 510 | 510 | 680 | 600 |
| Ёмкость магазина, патронов |
4+1 | 4+1 | 4+1 | 4+1 | 4+1 | 4+1 | 4+1 | 4+1 | 4+1 | 4+1 |
| Боевая скорострельность, выстрелов/мин |
10 | 10 | 10 | 10 | 10 | 10 | 10 | 10 | 10 | 10 |
| Прицельная дальность предельная, м |
1900 и 2200 |
1800 и 2000 |
1800 и 2000 |
900 и 1000 |
2000 | 2000 | 1000 | 1000 | 1800 | 1500 |
| Начальная скорость пули, м/c, патрон 1891 года патрон 1908 года |
690 |
660 |
660 |
620 |
— |
— |
— |
— |
— |
850 7,92×57 мм |
Страны-эксплуатанты
Российская империя Королевство Черногория — 24 мая 1898 года Черногории было поставлено 30 тыс. винтовок и 12 млн патронов, 20 июля 1909 года на пароходе «Петербург» было доставлено ещё 10 тыс. винтовок и 17,5 млн патронов; к началу Первой мировой войны винтовки находились на вооружении армии[34].
Эфиопия — в 1912 году в Японии для нужд армии Эфиопии, несмотря на протесты России, было закуплено несколько тысяч трофейных русских винтовок, находившихся в крайне плохом техническом состоянии[35].
Болгария — после создания весной 1912 года Балканского союза, в течение 1912 года 50 000 винтовок было поставлено болгарской армии[14]; по состоянию на 14 октября 1915 года, к моменту вступления Болгарии в первую мировую войну, на вооружении имелось 46 056 винтовок[36]; эти и трофейные винтовки использовались в ходе Первой мировой войны; после 9 сентября 1944 года поставлялись из СССР[37].
Монголия — в 1913 году поставлено 10 000 винтовок.
Королевство Сербия — в 1914 году было заключено соглашение о поставке 120 тыс. винтовок и 120 млн патронов, первая партия из 50 тыс. винтовок прибыла в августе 1914 года, перед началом Первой мировой войны, а всего до 16 августа 1914 года сербская армия получила 113 тыс. винтовок и 93 млн патронов[34][38].
Австро-Венгрия — трофейные винтовки использовались в ходе Первой мировой войны, 45 000 шт. были переделаны под штатный 8-мм винтовочный патрон, остальные использовались во фронтовых частях вместе с трофейными патронами[39].
Германская империя — трофейные винтовки, в связи с нехваткой отечественных винтовок в германской армии, использовались в ходе Первой мировой войны, были приняты на вооружение немецкого военно-морского флота[37].
США — винтовки «русского заказа», не поставленные в Россию до окончания гражданской войны под наименованием U.S. Rifle, 7.62 mm, Model of 1916, использовались как учебное оружие в армии, в том числе в студенческих учебных центрах (SATC) и учебных центрах офицерского резерва (ROTC), состояли на вооружении отдельных подразделений Национальной гвардии США.
РСФСР и
СССР — на вооружении с момента создания Красной Армии до окончания Великой Отечественной войны (снайперские винтовки оставались на вооружении вплоть до замены на винтовку СВД в июле 1963 года). Снятые с вооружения трехлинейки были переданы в военные училища[40], значительное количество винтовок было передано в ДОСААФ, использовались для обучения стрельбе и на занятиях по НВП[41]. Снятые с вооружения карабины передавали охотникам-промысловикам[42].
Российское государство (Белое движение) — На вооружении во всех воинских частях с момента активизации антибольшевитских сил в России до распада Российского государства и окончания Гражданской войны. В Белую армию винтовки Мосина как и импортировались из стран Антанты, так и огромное их число было на военных складах бывшей императорской армии.
Эстония — после провозглашения независимости в 1918 году, винтовки русской армии использовались для вооружения эстонской армии, пограничной полиции и иных эстонских военизированных формирований. После окончания войны за независимость, некоторое количество было передано в «Кайтселийт». Винтовки оставались на вооружении до вхождения Эстонии в состав СССР в июле 1940 года (в дальнейшем, были переданы на вооружение частей 22-го корпуса РККА). Выпускались модернизированные варианты M1931, M1933, KL.300, укороченная винтовка M1935.
Польша — находилась на вооружении в 1920-е годы, в 1920-е — 1930-е гг. выпускались модификации wz. 91/98/23, wz. 91/98/25 и wz. 91/98/26 под патрон 7,92×57 мм, в 1941—1942 гг. находились на вооружении «армии Андерса»[43].
Финляндия — винтовки были на вооружении финской армии с начала создания, в 1920-е имели место поставки из Германии; находились на вооружении по меньшей мере до конца Второй мировой войны, выпускались модернизированные варианты M/24, M/27, М/28, M/28-30, M/39[44].
МНР
Вторая Испанская Республика[45]. Доставлено 212 160.
Китай — применялись в ходе гражданской войны в Китае, карабин обр.1944 года выпускался под наименованием «тип 53»[43].
Нацистская Германия — трофейные винтовки поступали на вооружение вспомогательных и охранно-полицейских формирований, а также «восточных» частей СС. Винтовки обр.1891 г. поступали на вооружение под наименованием Gewehr 252(r), а винтовки обр. 1891/30 г. — под наименованием Gewehr 254(r)[46]; с осени 1944 года винтовки поступали на вооружение отрядов фольксштурма[47].
Чехословакия — на вооружении 1-го Чехословацкого армейского корпуса, а затем и других подразделений армии Чехословакии.
ПНР — с 1943 года на вооружении 1-й польской пехотной дивизии, а затем и других подразделений Войска Польского; кроме того, после окончания войны карабин обр.1944 г. небольшими партиями выпускался на оружейном заводе в городе Радом под наименованием wz. 44[48].
Югославия — в 1944 году поставлялись НОАЮ[43].
ВНР — винтовка находилась на вооружении под наименованием 48 M. puska; кроме того, карабин обр.1944 г. небольшими партиями выпускался в 1952—1955 гг. на Будапештском арсенале[48].
Албания — полученные после 1945 года карабины обр. 1944 года оставались на вооружении албанской армии по меньшей мере до 1994 года[49].
ГДР.
Вьетнам .
КНДР[43][50].
Куба — полученные после Кубинской революции винтовки и карабины оставались на вооружении в 2015 году[51].
Сирия - некоторое количество снайперских винтовок обр. 1931 года было получено во время "холодной войны" из СССР, они оставались на складах мобилизационного резерва вооружённых сил Сирии до начала боевых действий в 2011 году. Летом 2019 года эти винтовки продолжали использовать военнослужащие сирийской армии[52].
Белоруссия — винтовка снята с вооружения в декабре 2005 года[53].
Казахстан — винтовки и карабины обр. 38/44 г. состоят на вооружении ведомственной охраны[54], а также отдельных категорий работников системы производственного объединения охотничье-промысловых и зоологических предприятий (ПО «Охотзоопром») госконцерна «Казместпром»[55].
Россия — карабины состоят на вооружении ведомственной охраны[56], военизированных и сторожевых подразделений вневедомственной охраны МВД РФ[57] и ФГУП «Охрана» МВД РФ[58].
Украина — по состоянию на 15 августа 2011 года, на хранении министерства обороны имелось 180 000 винтовок обр. 1891/30 г. и 2500 карабинов обр. 1944 года[59]; карабины состоят на вооружении государственной службы охраны[60], по состоянию на 2016 год снайперские винтовки использовались в подразделениях украинской армии[61].
Венесуэла — в 2008-2009 гг. в составе вооружённых сил Венесуэлы началось создание отрядов боливарианской милиции (Milicia Nacional Bolivariana), на вооружение сельских подразделений которой (Milicia Campesina) передали трехлинейные винтовки обр.1891/30 гг. и карабины обр. 1944 г.[62].
ЦАР — в сентябре 2019 года из РФ была поставлена партия оружия, включавшая карабины образца 1944 года[63].
По состоянию на начало 2011 года значительное количество винтовок (в основном, поставленных в период после окончания второй мировой войны) использовалось вооружёнными формированиями государств, ЧВК и другими военизированными формированиями в Африке. Вообще в войнах 2010-х годов на Ближнем Востоке и в Африке все стороны конфликтов вооружены очень разнородным и зачастую морально устаревшим оружием, в том числе времён Первой и Второй мировых войн[64].
Гражданские варианты
В СССР выпускались конверсионные карабины КО-8,2 (на базе винтовки обр.1891/30 гг.), КО-38 (на базе карабина обр.1938 года) и КО-44 (на базе карабина обр.1944 года)[65].
В России на Тульском оружейном заводе продолжался выпуск конверсионных карабинов обр.1944 года КО-44 и КО-44-1[66], также был начат выпуск конверсионных вариантов винтовки обр. 1891/30 гг. — КО-91/30 (Вятско-Полянский машиностроительный завод «Молот») и МР-143 (Ижевский механический завод)[67]. Конверсионные варианты винтовки обр. 1891/30 гг. практически не отличаются от оригинальной армейской винтовки — все отличия сводятся к устанавливаемому в канале ствола следообразующему штифту для соответствия криминалистическим требованиям, криминалистической метке в патроннике, а также отсутствию штыка.
Кроме того, в 2005 году был начат выпуск конверсионного карабина ВПО-103 под патрон 9×53 мм R[68].
В начале 1990-х годов в Болгарии на оружейном заводе в городе Казанлык начали производство охотничьей винтовки «Мазалат» (трёхлинейный карабин обр. 1938 или 1944 года из армейских резервов с новой ложей из орехового дерева и оптическим прицелом)[69].
В последние десятилетия распродающиеся со складов вооружённых сил винтовки Мосина благодаря соотношению цены и характеристик завоевали большую популярность на рынке гражданского оружия многих стран мира, в том числе России и США.
В октябре 2017 года компанией ООО «Молот-Оружие» на проходившей в октябре 2017 года выставке «Оружие и Охота» широкой публике было представлено ружьё ВПО-220 под российский пулевой патрон 9,6/53 Lancaster, выполненное из винтовок образца 1891/1930 гг. путём установки нового ствола и новой ложи охотничьего типа производства компании «Арт-дек Арт». Ствол производства «Молот-Оружие», свободно вывешенный, имеет хромированный канал с овально-винтовой сверловкой Ланкастера. Патронник и затвор хромированы. На дульной части ствола установлен дульный тормоз-компенсатор на резьбе 16:1. Для обеспечения надёжной подачи патронов из магазина в патронник ствола магазинная коробка расширена с учётом геометрии патрона 9,6/53 Lancaster. Прицельные приспособления состоят из новой регулируемой мушки и оригинального секторного целика, рассчитанного на прицельную стрельбу до 300 метров. Установлена боковая планка с креплением типа «ласточкин хвост» для установки на оружие кронштейнов оптики.
По данным крупнейшего американского оружейного интернет-магазина Bud’s Gun Shop, винтовка Мосина заняла в 2012 году первое место по продажам среди всех видов стрелкового оружия, разрешённого к продаже населению США[70][71]. В списке из 20 лидеров продаж, винтовка образца 1891/30 является третьей по счёту среди самых старых принятых на вооружение в мире. Больший возраст принятия на вооружения имеют только два вида «полицейской» модели револьвера Смит-Вессон (11 и 19 строчки в списке популярности)[70]. Стоимость винтовок и карабинов образца 1891/30 не так давно составляла около $100[72]. Поставка из бывших мобилизационных запасов СССР. Набор включает штык, ремень, патронташ и принадлежность[72].
Гладкоствольные ружья, переделанные из старых винтовок Мосина, выпускавшиеся в межвоенные и послевоенные годы, обычно 32-го калибра. В своё время позволили быстро и экономно дать охотникам-промысловикам надёжное оружие с приемлемыми качествами. Слово «фроловка» стало в русском языке общим неофициальным обозначением всех гладкоствольных ружей, переделанных из винтовок военного образца. В настоящее время «фроловки» представляют определённый коллекционный интерес.
После войны в СССР на базе конструкции затвора и ствольной коробки «трёхлинейки» были созданы несколько вариантов спортивных винтовок для целевой стрельбы:
- Би-59 — разработана в 1959 году, конструктор А. С. Шестериков.
- Би-7,62 — выпускалась серийно с 1961 по 1970 год, всего было изготовлено 1700 шт. В 1963 г. винтовка была удостоена золотой медали на международной выставке в Лейпциге.
- Би-6,5 — выпускалась с 1964 по 1970 год, разработана в связи с тем, что с 1963 г. биатлонисты перешли на использование 6,5-мм патронов.
- Целевая винтовка АВ (армейская винтовка) — имела утяжелённый ствол особо точной обработки длиной 720 мм, более удобную отогнутую книзу рукоятку затвора, диоптрический прицел и крепление для оптического, более удобную ложу. АВ имела кучность боя порядка 3×2 см на дистанции 100 м целевым патроном (по техническим условиям; реально кучность боя многих образцов была существенно лучше, современные отстрелы показывают кучность порядка 0,5 МОА патроном «Экстра» с 5 выстрелов с сошек на 200 м), что в теории вполне позволяло использовать её и в качестве «полицейской» снайперской винтовки. После снятия в конце 1970-х годов соответствующей дисциплины с программы Олимпийских игр, немногочисленные экземпляры винтовки АВ были в основном уничтожены[73], хотя известен как минимум один уцелевший образец, впрочем, существенно переделанный. В сентябре 1999 года снайперская пара СБУ выступала на соревнованиях снайперов с модифицированной винтовкой АВ[74]. Как минимум один образец винтовки АВ находится в оружейке специализированной детско-юношеской спортивно-технической школы (СДЮСТШ) ДОСААФ в г. Ульяновске.
- КО91/30МС — спортивная модификация винтовки с матчевым стволом, разработана и производится с 2003 года в штучном исполнении Вятско-Полянским заводом «Молот»[75].
См. также
- МС-74 — снайперская винтовка Е. Ф. Драгунова 1949 года.
- Tkiv 85
- Винтовка 35M
- Карабин Model 91/98/23 — польский аналог винтовки Мосина
- ВМ МП-УОС — снайперская винтовка, созданная в 2015 году ГП «Укроборонсервис»
- Лобанов, Александр Павлович — художник, в работах которого неоднократно фигурировала видоизменённая двуствольная винтовка Мосина.
Литература
- Описание 3-х линейной винтовки образца 1891 г. и 3-х линейного револьвера образца 1895 г. — СПб., 1909
- Пятьдесят лет русской винтовки // журнал «Техника молодёжи», № 4, 1941. стр. 13-18
- Наставление по стрелковому делу. Винтовка обр. 1891/30 г и карабины обр. 1938 г. и обр. 1944 г. — М.: Воениздат, 1953. — 97 с.
- Благонравов А. А. Материальная часть стрелкового оружия. Кн. 1. — М.: Оборонгиз НКАП, 1945. — 572 с.
- А. Б. Жук. Энциклопедия стрелкового оружия: револьверы, пистолеты, винтовки, пистолеты-пулемёты, автоматы. М., ООО «Издательство АСТ», «Воениздат», 2002. стр. 584-590
- Маркевич В. Е. Ручное огнестрельное оружие. — СПб: Полигон, 2005. — 496 с. — ISBN 5-89173-276-9.
- Поручик Мансуров. Записки о 3-х линейной винтовке образца 1891 года в сравнении её с иностранными ружьями. — СПб., 1894.
- Фёдоров В. Г. История винтовки. — М.:Воениздат, 1940. — 126 с.
- Чуднов Г. М. Конструктор С. И. Мосин. — Тула: Приокское кн. изд-во, 1990. — 171 с. — ISBN 5-7639-0094-4.
- Сергей Челноков. Мосин vs Nagant (часть I) // журнал «Мастер-ружьё», № 6 (123), июнь 2007. стр. 28-35
- Сергей Челноков. Мосин vs Nagant (часть II) // журнал «Мастер-ружьё», № 7 (124), июль 2007. стр. 54-62
- Д.В. Брусилов. Оружие и техника Первой мировой войны. — Москва: АСТ, 2014. — 192 с. — (Легендарное оружие в мировой истории). — ISBN 978-5-17-081196-0.
Ссылки
- Mosin-Nagant (англ.)
- The Russian Mosin Nagant Page (англ.)
- Устройство винтовки образца 1891/30 г
- Интерактивное флэш-пособие на карабин Мосина обр.1907г
- Описание трёхлинейки Мосина в фотографиях
- Пехотная винтовка мосина СХП (1932—1943 гг)
- Ружьё ВПО-220 от «Молот-Оружие»
- Винтовка обр. 1891/30 г. и карабины обр. 1938 г. и обр. 1944 г.




