Эксцентрик (техника)
Эксцентрик (от лат. ex centro — из центра) — диск (цилиндрическая поверхность) или сектор диска, насаженный на вращающийся вал так, что ось вращения диска параллельна, но не совпадает с осью вращения вала, для преобразования вращательного движения в поступательное. Расстояние между осями называется эксцентриситетом.
Эксцентриком принято называть только сам диск (вал) со смещённой осью вращения, а созданные на его основе механизмы и приспособления, как правило, носят самостоятельные названия.
Основное достоинство эксцентрика — простота конструкции и изготовления (состоит из тел вращения), недостаток при использовании в регулировании — нелинейность перемещения (синусоидальный закон).
Типовые конструкции и использование
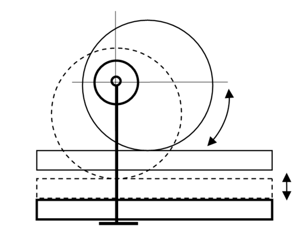
- Эксцентрик представляет собой два соединённых жёстко вала со смещёнными осями (либо вал с нецентральным отверстием). Один из валов (либо ось) вставляется в кольцо на опоре, на второй (рабочий) вал надевается кольцо, воспринимающее результирующее движение. По своей сути это кривошип очень маленького размера, и иногда эксцентрик используется именно в таком качестве, например, для создания вибраций. Однако чаще всего такая конструкция используется для регулировки: подвод опор колодок барабанных тормозов, регулировка натяжения приводных ремней на двигателях, согласование входов водопроводного смесителя и выходов на стене и т. п.
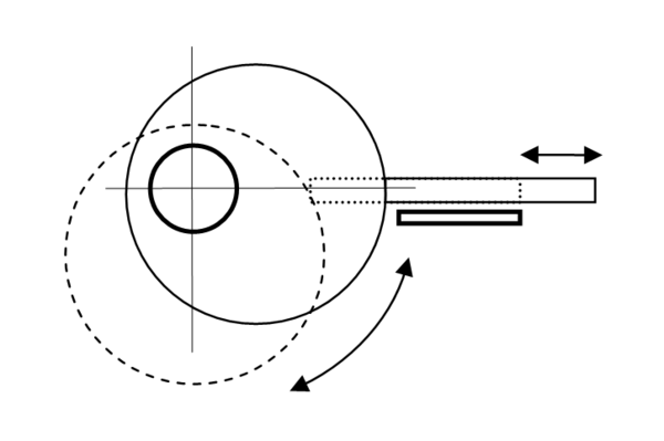
- Эксцентрик сам по себе выполнен как в предыдущем пункте, однако результирующее движение воспринимается в одной или в двух противоположных точках плоскостью (торцом) поступательного либо качающегося звена — толкателя. По своей сути это (простейший) вариант кулачкового механизма, создающий гармоничное движение, при котором перемещения толкателя пропорциональны косинусу (или синусу) угла поворота эксцентрика. Чаще всего применяется для привода поршней или мембран маломощных насосов (топливные насосы двигателей), а также для небольшого поступательного перемещения, например, преобразования вращательного движения ручки замка́ в возвратно-поступательное движение засова-защёлки.
- Эксцентрик представляет собой диск или сектор диска с нецентральным отверстием с малым эксцентриситетом; поворот эксцентрика осуществляется непосредственно прикрепляемой ручкой. Применяется для создания силы сжатия между центром вращения эксцентрика (обычно соединяемой тягой с противоположной стороной предмета сжимания) и точкой касания предмета внешней стороной эксцентрика — используется эффект клина, которым, по сути, является серповидный участок эксцентрика между отверстием вращения и внешней поверхностью. На этом принципе устроен легко зажимающийся болт, применяемый в велосипедах для быстрой фиксации положения его частей, а также зажим обрабатываемых изделий в станочных приспособлениях и съёмниках (шпильковерт).
Оригинальные конструкции
- Закладка в альпинизме в виде треугольной пластины с тросиком, применяемый в страховочно-спусковых устройствах для автоматического зажима верёвки в случае срыва.
- Френд (альпинизм) — закладка в альпинизме, представляет собой два эксцентрика на одной оси, направленные навстречу друг другу. При вставке этой закладки в трещину и приложении усилия на центральную ось эксцентрики упираются внешними сторонами в поверхность трещины, а центрами — друг в друга, и надёжно заклинивают. Для снятия закладки нужно снять нагрузку и свести эксцентрики друг к другу.
- В механизме педали для бас-барабана благодаря эксцентрику можно регулировать степень жесткости, скорость колотушки и силы удара. Впервые эксцентрики предложила в 1961 году фирма Camco Drum Company, позже проданная DW и Tama[1] Благодаря разработке фирмы Pearl стала возможна смена эксцентриков, что позволяет приспособить педаль под любую технику игры.
- Эксцентриково-циклоидальное зацепление — одно из колёс имеет профиль эксцентрика.
- Эксцентриком называется быстрозатягивающий механизм для крепления оси колеса велосипеда. С его помощью можно снять/установить колесо без инструментов.


