Кирпич
Кирпич — строительный материал в виде искусственного камня, изготовленного из пластичной минеральной смеси. Из глиносодержащей смеси изготавливают керамический и сырцовый кирпич, из известково-песчаной — кирпич силикатный[1].
Этимология
Слово «кирпич» заимствовано из тюркских языков[2], например, тур. kirpiǯ, тат. kirpič / кирпич, азерб. kärpχič[3][4]. До кирпича в Европе и на Руси использовалась плинфа (например, при посещении Иваном Грозным недостроенного Софийского собора в Вологде на него упала плинфа: «как из своду туповатова упадала плинфа красная»). «Плинфа» — тонкая и широкая прямоугольная глиняная пластина, толщиной примерно 2,5 см. Изготавливалась в специальных деревянных формах. Плинфа сушилась 10—14 дней, затем её обжигали в печи. На многих плинфах находят клейма, которые считаются клеймами изготовителя.
История
Хотя вплоть до нашего времени широчайшее распространение имел во многих странах необожжённый кирпич-сырец, часто с добавлением в глину резаной соломы, применение в строительстве обожжённого кирпича также восходит к глубокой древности (постройки в Египте, 3—2 тысячелетие до н. э.). Особенно важную роль играл кирпич в зодчестве Месопотамии и Древнего Рима, где из кирпича (45×30×10 см) выкладывали сложные конструкции, в том числе арки, своды и тому подобное. Форма кирпичей в Древнем Риме варьировалась, использовались в том числе прямоугольные, треугольные и круглые в плане кирпичи[5], прямоугольные плиты кирпича радиально разрезали на 6—8 частей, что позволяло из получившихся треугольных кусков класть более прочную и фигурную кладку.
Стандартный обожжённый кирпич использовался на Руси с конца XV века. Ярким примером стало строительство стен и храмов Московского Кремля во времена Иоанна III, которым заведовали итальянские мастера. «… и кирпичную печь устроили за Андрониковым монастырем, в Калитникове, в чём ожигать кирпич и как делать, нашего Русского кирпича уже да продолговатее и твёрже, когда его нужно ломать, то водой размачивают. Известь же густо мотыками повелели мешать, как на утро засохнет, то и ножём невозможно расколупить».
Привычный же нам кирпич прямоугольной формы (его удобней было держать в руке) появился в Англии в XVI веке[6].
В коллекции кирпичей (англ. American Brick Collection), подаренной в 1994 году Рэймондом Чейзом Национальному музею строительства (англ. National Building Museum) в Вашингтоне, содержится 1800 различных кирпичей, произведённых в США в конце XIX — начале XX века и отмеченных клеймом производителя[7][8].
До XIX века техника производства кирпичей оставалась примитивной и трудоёмкой. Формовали кирпичи вручную, сушили исключительно летом, а обжигали в напольных печах-времянках, выложенных из высушенного кирпича-сырца. В середине XIX века были изобретены кольцевая обжиговая печь и ленточный пресс, обусловившие переворот в технике производства. В конце XIX века стали строить сушилки. В это же время появились глинообрабатывающие машины: бегуны, вальцы, глиномялки.
В наше время более 80 % всего кирпича производят предприятия круглогодичного действия, среди которых имеются крупные механизированные заводы, производительностью свыше 200 млн штук в год.
- Клейма
Клеймо на кирпиче ставит завод-изготовитель. В старину производили кирпич ручной формовки. Старинный кирпич имеет различные клейма. Они могут быть выполнены в виде символов или букв. Как правило, это сокращение инициалов хозяина завода. При строительстве казённых предприятий завод, выигравший поставку, мог ставить клеймо в виде двуглавого орла. Такой старинный кирпич в народе получил название «имперский кирпич». В Санкт-Петербурге встречается самое большое количество различных клейм. На кирпичах можно встретить клеймо в виде ключа, короны, орла, якоря, подковы, названий рек, городов, различных фамилий. На заводе клеймо могло видоизменяться. Зачастую заводы переходили от одного собственника к другому. Поэтому один и тот же завод мог за свою историю выпускать разнообразные клейма. Известны случаи, когда кирпичный завод переходил от отца к сыну и клеймо видоизменялось с сохранением фамилии, но изменением дизайна. Одним из самых известных заводов, выпускавших кирпичи с клеймом, был завод купцов Стрелиных.
Современное кирпичное производство ставит клейма на различных поверхностях кирпича (ложок, тычок, постель). В прошлых веках клеймо ставили в основном на постель.
Описание
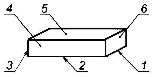
Самая большая по площади сторона кирпича называется постель, боковая длинная — ложок, боковая короткая — тычок[1].
- Размеры
Существуют разные стандарты размеров кирпича. В России и на постсоветском пространстве основным стандартом считается 250×120×65 мм. Такой же размер применяется и в Германии. В Великобритании стандартный кирпич имеет размеры 215×102,5×65 мм.
Выделяют 2 основных типа кирпичей: керамические (ГОСТ 530—2012) и силикатные (ГОСТ 379—2015).
В России кирпичи единого стандарта (нормального формата — НФ[9]) появились в 1927 году. Одним из первых общесоюзных стандартов на кирпич был ОСТ 90035-39. Нормальный формат имеет габаритные размеры 250×120×65 мм. Наименования остальных размеров являются производными от НФ:
- 1 НФ (одинарный) — 250×120×65 мм;
- 1.4 НФ (полуторный) — 250×120×88 мм;
- 2.1 НФ (двойной) — 250×120×138 мм.
Изделия номинального размера 2.1 НФ и более называются керамическими камнями, размеры типовых моделей согласно ГОСТ 530—2012:
- 4.5 — 250×250×140 мм;
- 6.8 — 380×250×140 мм;
- 6.0 — 250×250×188 мм[10].
Неполномерный (часть):
- 3/4 — 180 мм;
- 1/2 — 120 мм;
- 1/4 — 60—65 мм.
- Масса
Масса кирпичей зависит в первую очередь от класса плотности изделия, всего выделяют 7 классов для керамического и силикатного кирпича.
Формула расчета массы: a*b*c*p, где первые 3 параметра — длина, ширина и толщина, p — общая плотность изделия.
Ориентировочная масса керамических кирпичей (ГОСТ 530—2012):
- полнотелый 250×120×65 мм (2 класс плотности): 3.315..3.705 кг;
- пустотелый 250×120×65 мм (1.4 класс плотности): 2.34..2.73 кг;
- полнотелый 250×120×88 мм (2 класс плотности): 4.488..5.016 кг;
- пустотелый 250×120×88 мм (1.4 класс плотности): 3.168..3.696 кг;
- полнотелый 250×120×140 мм (2 класс плотности): 7.038..7.866 кг;
- пустотелый 250×120×140 мм (1.4 класс плотности): 4.968..5.796 кг[11].
Виды кирпича по материалу
- Керамический кирпич — из обожжённой глины.
- Сырцовый кирпич — из необожжённой глины.
- Силикатный кирпич
- Гиперпрессованный кирпич — из отсева известковых пород (мрамора, ракушечника, доломита, до 90 % состава кирпича) и портландцемента (6−8 %)[12].
- Свинцовый кирпич
Керамический кирпич обычно применяется для возведения несущих и самонесущих стен и перегородок, одноэтажных и многоэтажных зданий и сооружений, внутренних перегородок, заполнения пустот в монолитно-бетонных конструкциях, кладки фундаментов, внутренней части дымовых труб, промышленных и бытовых печей.
Керамический кирпич подразделяется на рядовой и лицевой. Лицевой кирпич изготавливается по специальной технологии, которая придаёт ему массу преимуществ. Лицевой кирпич должен быть не только красивым, но и надёжным. Облицовочный кирпич обычно применяется при возведении новых зданий, но также с успехом может быть использован и в различных реставрационных работах. Его используют при облицовке цоколей здaний, стен, заборов, для внутреннего дизайна.
- Преимущества керамического рядового кирпича
- Прочен и износостоек. Керамический кирпич обладает высокой морозостойкостью, что подтверждается многолетним опытом его применения в строительстве.
- Хорошая звукоизоляция — стены из керамического кирпича, как правило, соответствуют требованиям [СП] 51.13330.2011 «Защита от шума».
- Низкое влагопоглощение (менее 14 %, а для клинкерного кирпича этот показатель может достигать 3 %) — Более того, керамический кирпич быстро высыхает.
- Экологичность Керамический кирпич изготовлен из экологически чистого натурального сырья — глины, по технологии, знакомой человечеству десятки веков. Во время эксплуатации построенных из него зданий, красный кирпич не выделяет вредных для человека веществ, таких как газ радон.
- Устойчивость почти ко всем климатическим условиям, что позволяет сохранять надёжность и внешний вид.
- Высокая прочность (15 МПа и выше — 150 атм.).
- Высокая плотность (1950 кг/м³, до 2000 кг/м³ при ручной формовке).
- Преимущества керамического облицовочного кирпича
- Морозостойкость. Облицовочный кирпич обладает высокой морозостойкостью, а для северного климата это особенно важно. Морозостойкость кирпича является наряду с прочностью важнейшим показателем его долговечности. Керамический облицовочный кирпич идеально подходит для российского климата.
- Прочность и устойчивость. Благодаря высокой прочности и малому объёму пористости кладка, возводимая из облицовочных изделий, отличается высокой прочностью и поразительной устойчивостью к воздействию окружающей среды.
- Различная фактура и цветовая гамма. Диапазон различных форм и цветов облицовочного кирпича даёт возможность создания имитации старинных построек при возведении современного дома, а также позволит возместить утраченные фрагменты фасадов старинных особняков.
- Недостатки
- Высокая цена. В связи с тем, что керамический кирпич требует несколько этапов обработки, его цена довольно высокая, по сравнению с ценой силикатного кирпича.
- Возможность появления высолов. В отличие от силикатного кирпича, керамический кирпич «требует» качественный раствор, в противном случае могут появляться высолы.
- Необходимость приобретать весь требуемый облицовочный кирпич из одной партии. Если облицовочный керамический кирпич приобретается из разных партий, могут возникнуть проблемы с тоном.
Необходимо создание условий для обеспечения основных параметров производства:
- постоянного или среднего состава глины;
- равномерной работы производства.
В кирпичном производстве результата добиваются только после длительных экспериментов с режимами сушки и обжига. Эта работа должна проводиться при постоянных основных параметрах производства.
Хороший (лицевой) керамический кирпич производится из глины, добытой мелкой фракцией с постоянным составом минералов. Месторождения с однородным составом минералов и многометровым слоем глины, пригодным для добычи одноковшовым экскаватором, очень редки и почти все разработаны.
Большинство месторождений содержит многослойную глину, поэтому лучшими механизмами, способными при добыче делать глину среднего состава, считаются многоковшовый и роторный экскаваторы. При работе они срезают глину по высоте забоя, измельчают её, и при смешивании получается средний состав. Другие типы экскаваторов не смешивают глину, а добывают её глыбами.
Постоянный или средний состав глины необходим для подбора постоянных режимов сушки и обжига. Для каждого состава нужен свой режим сушки и обжига. Один раз подобранные режимы позволяют получать высококачественный кирпич из сушилки и печи годами.
Качественный и количественный состав месторождения выясняется в результате разведки месторождения. Только разведка выясняет минеральный состав: какие суглинки пылеватые, глины легкоплавкие, глины тугоплавкие и т. д. содержатся в месторождении.
Лучшими глинами для производства кирпича считаются те глины, которые не требуют добавок. Для производства кирпича обычно используется глина, непригодная для других керамических изделий.
- Сушилки камерные
Сушилки загружаются кирпичом полностью, и в них постепенно изменяется температура и влажность по всему объёму сушилки, в соответствии с заданной кривой сушки изделий.
- Сушилки туннельные
Сушилки загружаются постепенно и равномерно. Вагонетки с кирпичом продвигаются через сушилку и проходят последовательно зоны с разной температурой и влажностью. Туннельные сушилки лучше всего применять для сушки кирпича из сырья среднего состава. Применяются при производстве однотипных изделий строительной керамики. Очень хорошо «держат» режим сушки при постоянной и равномерной загрузке кирпича-сырца.
- Процесс сушки
Глина — это смесь минералов, состоящая по массе более чем на 50 % из частиц до 0,01 мм. К тонким глинам относятся частицы менее 0,2 мкм, к средним 0,2—0,5 мкм и крупнозернистым 0,5—2 мкм. В объёме кирпича-сырца есть множество капилляров сложной конфигурации и разных размеров, образованных глинистыми частицами при формовке.
Глины дают с водой массу, которая после высыхания сохраняет форму, а после обжига приобретает свойства камня. Пластичность объясняется проникновением воды, хорошей природной смазки, между отдельными частицами минералов глины. Свойства глины с водой важны при формовке и сушке кирпича, а химический состав определяет свойства изделий во время обжига и после обжига.
Чувствительность глины к сушке зависит от процентного соотношения «глинистых» и «песчаных» частиц. Чем больше в глине «глинистых» частиц, тем труднее удалить воду из кирпича-сырца без образования трещин при сушке и тем больше прочность кирпича после обжига. Пригодность глины для производства кирпича определяется лабораторными испытаниями.
Если в начале сушилки в сырце образуется много паров воды, то их давление может превысить предел прочности сырца и появится трещина. Поэтому температура в первой зоне сушилки должна быть такой, чтобы давление паров воды не разрушало сырец. В третьей зоне сушилки прочность сырца достаточна для повышения температуры и увеличения скорости сушки.
Режимные характеристики сушки изделий на заводах зависят от свойств сырья и конфигурации изделий. Существующие на заводах режимы сушки нельзя рассматривать как неизменные и оптимальные. Практика многих заводов показывает, что длительность сушки можно значительно сокращать, пользуясь методами ускорения внешней и внутренней диффузии влаги в изделиях.
Кроме того, нельзя не учитывать свойства глиняного сырья конкретного месторождения. Именно в этом и заключается задача заводских технологов. Нужно подобрать такую производительность линии формовки кирпича и режимы работы сушилки кирпича, при которых обеспечивается высокое качество сырца при максимально достижимой производительности кирпичного завода.
- Процесс обжига
Глина представляет смесь легкоплавких и тугоплавких минералов. При обжиге легкоплавкие минералы связывают и частично растворяют тугоплавкие минералы. Структура и прочность кирпича после обжига определяется процентным соотношением легкоплавких и тугоплавких минералов, температурой и продолжительностью обжига.
В процессе обжига керамического кирпича легкоплавкие минералы образуют стекловидную, а тугоплавкие кристаллическую фазы. С повышением температуры всё более тугоплавкие минералы переходят в расплав, возрастает содержание стеклофазы. С увеличением содержания стеклофазы повышается морозостойкость и снижается прочность керамического кирпича.
При увеличении длительности обжига возрастает процесс диффузии между стекловидной и кристаллической фазами. В местах диффузии возникают большие механические напряжения, так как коэффициент термического расширения тугоплавких минералов больше коэффициента термического расширения легкоплавких минералов, что и приводит к резкому снижению прочности.
После обжига при температуре 950—1050 °C доля стекловидной фазы в керамическом кирпиче должна составлять не более 8—10 %. В процессе обжига подбираются такие температурные режимы обжига и продолжительность обжига, чтобы все эти сложные физико-химические процессы обеспечивали максимальную прочность керамического кирпича.
См. также
Примечания
Литература
- Кирпич // Большая российская энциклопедия. Том 14. — М., 2009. — С. 43.
- Кирпич строительный // Товарный словарь. Том 3 / Гл. ред. И.А. Пугачев. — М.: Госторгиздат, 1957. — Стб. 549—555.
- Пронженко В.В. Кирпич настоящий // Сделай сам : журнал. — М.: Знание, 2003. — № 1. — С. 100—106.
- Данилова Л.И. О глине, и не только о ней // Камень, глина и фантазия. — М.: Просвещение, 1991. — С. 137—160. — 239 с.
- Нормативная литература
- ГОСТ 379-95 Кирпич и камни силикатные : Технические условия. — М. : Стандартинформ, 1996.
- ГОСТ 530-2012 Кирпич и камень керамические : Общие технические условия : Официальное издание : [дата введения 2013-07-01] [заменяет ГОСТ 530-2007] / Разработан Ассоциацией производителей керамических материалов, ООО ВНИИСТРОМ «НЦК». — М. : Стандартинформ, 2013. — III+27, [3] с.
- ГОСТ 379-2015 Кирпич, камни, блоки и плиты перегородочные силикатные : Общие технические условия. — М. : Стандартинформ, 2015.


