Остеосцинтиграфия
Остеосцинтигра́фия, или сцинтигра́фия скеле́та (англ. bone scan или bone scintigraphy) — метод радионуклидной диагностики, основанный на введении в организм пациента тропного к костной ткани радиофармацевтического препарата (РФП) и последующей регистрации его распределения и накопления в скелете с помощью гамма-излучения изотопа, входящего в состав препарата. Регистрацию распределения радиофармацевтического препарата проводят с помощью гамма-камеры. Данный метод — один из наиболее востребованных в ядерной медицине за счёт высокой чувствительности выявления патологии костей. Чувствительность метода основана на способности обнаруживать функциональные, а не структурные изменения[1].
История
Впервые Chievitz O. and Hevesy G. в 1935 году обратили внимание при радиобиологических экспериментах на грызунах на возможность изучения метаболизма скелета с помощью 32P. А в 1942 году Treawell Ade G. et al. использовали для этих целей 89Sr, после чего было установлено сходство распределения стронция с распределением кальция. После данных экспериментов было исследовано несколько изотопов: 47Са, 85Sr, 72Ga. В 1965 году Bolliger T.T. et al. предложил использовать в качестве радиофармпрепарата пертехнетат для диагностики экстракраниальных первичных и метастатических новообразований, но на практике распределение и накопление пертехнетата меньше в сравнении с 89Sr. В дальнейшем G.Subramanian предложил использовать фосфатные соединения меченные 99mTc: 99mTc-триполифосфат, с помощью которого было получено существенно более значимое накопление индикатора в костной ткани. Затем R.Perez были предложены комплексы, превосходящие 99mTc-полифосфаты, среди которых был 99mTc-пирофосфат и 99mTc-метилендифосфонат. Пирофосфат и бисфосфонаты различаются, в основном, связыванием между двумя фосфатными группами. У пирофосфата они связаны через кислород (P-O-P), а у бисфосфонатов (P-C-P) — через углерод[2].
Радиофармацевтические препараты для остеосцинтиграфии
В настоящее время для исследования костей используются исключительно меченые 99mTc фосфатные комплексы[2]:
| Радиофармпрепарат | Носитель | Торговое название, производитель |
|---|---|---|
| 99mTc-PyP | пирофосфат | Пирфотех (ООО «Диамед», Россия) |
| 99mTc-MDP | метилендифосфонат, медронат | MDP (Амершем, Великобритания) |
| 99mTc-HEDP | гидроксиэтилидендифосфонат, этидронат | Фосфотех (ООО «Диамед», Россия) |
| 99mTc-EDTMP | этилендиаминтетраметиленфосфоновая кислота, оксабифор | Технефор (ООО «Диамед», Россия) |
| 99mTc-ZDA | золедроновая кислота, золедронат | Резоскан (ЗАО «Фарм-Синтез», Россия) |
Наибольший интерес в радионуклидной диагностике скелета проявляется к РФП (Резоскан) на основе бисфосфоната последнего поколения золедроновой кислоты меченой 99mTc (золедроновая кислота так же применяется при лечении костных метастазов и остеопороза). Данный РФП обладает способностью накапливаться не только в бластных метастазах, но и в литических, а также его накопление более специфично к очагам костно-дегенеративных поражений скелета[3].
При остеосцинтиграфии в неизменённых костных структурах скелета накопление 99mTc-золедроновой кислоты, как и других остеотропных РФП симметрично. При использовании режима исследования «whole body» (планарная сцинтиграфия всего тела в двух проекциях: передней и задней) в передней проекции относительно более выраженная степень накопления РФП встречается в суставах, метафизах длинных трубчатых костей, в грудине, костях лицевого черепа, гребешках подвздошной кости. В задней проекции — в тазовых костях, лопатках, крестце и позвоночнике.
Диагностика заболеваний скелета
Правильное заключение на основе полученных сцинтиграмм невозможно без понимания механизма захвата РФП костью. В областях остеогенной активности растёт количество кристаллов гидроксиопатита, на поверхности которых адсорбируются фосфатные комплексы. Накопление РФП закономерно возрастает при[4]:
- Остеобластической активности патологического процесса
- Увеличении кровотока
- Сосудистой проницаемости
Для повышения эффективности диагностики в зависимости от стадии процесса и самой патологии, помимо скриниговой рентгенографии, применяют остеосцинтиграфию. Этапы эффективности выбора остеосцинтиграфия/рентгенография зависят от стадии патологического процесса и его характера[5]:
| Метаболическая активность | Стадия | Остеосцинтиграфия | Рентгенография |
|---|---|---|---|
| Активна | Деструкция/деминерализация | + | - |
| Активна | Созревание и минерализация молодого остеоида | + | + |
| Не активна | Полная минерализация и зрелость | - | + |
Таблица распространённости метастазирования в скелет[6]
| Опухоль | Частота метастазирования | Медиана выживаемости, мес |
|---|---|---|
| Миелома | 70—90 % | 6—54 |
| Почки | 20—25 % | 6 |
| Меланома | 14—45 % | 6 |
| Щитовидная железа | 60 % | 48 |
| Лёгкие | 30—40 % | 6 |
| Молочная железа | 65—75 % | 19—25 |
| Предстательная железа | 65—75 % | 12—53 |
В настоящее время поиск метастазов в скелете — довольно сложная задача, где наиболее чувствительным и специфичным методом является сцинтиграфия остеотропными радиофармпрепаратами. Сцинтиграфические находки выглядят как единичные или множественные, равномерные — неравномерные, фотопенические или гепераккумулированные очаги и т. д.
Большинство костных метастазов соответствует распределению костного мозга в скелете и локализуется в осевом скелете (80 %[4]): позвоночник, таз, рёбра, грудина и череп. Соответственно до 20 % метастазов локализуется в конечностях или черепе, поэтому важно при проведении остеосцинтиграфии сканировать весь скелет.
Одной из традиционных сторон остеосцинтиграфии является диагностика остеомиелита и других костных воспалений. Так большинство специалистов в радионуклидной диагностики считают, что для диагностики остеомиелита целесообразно проведение трёхфазной (четырёхфазной) сцинтиграфии. Протокол его следующий:
| Фаза | Время проведения | Оценка |
|---|---|---|
| I | Первая минута | Уровень кровотока в патологическом очаге |
| II | Следующие 5 минут | Распределение объёма крови в патологическом очаге |
| III | Через 2—4 часа | Распределение в кости |
| IV | Через 24 часа | Распределение в кости |
Для остеомиелита как для любого другого воспалительного очага характерно:
- Увеличение кровотока
- Увеличение объёма крови
- Сравнительно большая интенсивность накопления РФП в соответствующей области
Четвёртая фаза обеспечивает возможность дифференцировать выраженность воспалительной реакции на инфекцию в костной ткани и окружающих её мягких тканях[2]. Таким образом, остеосцинтиграфия считается весьма чувствительным методом для раннего распознавания остеомиелита.
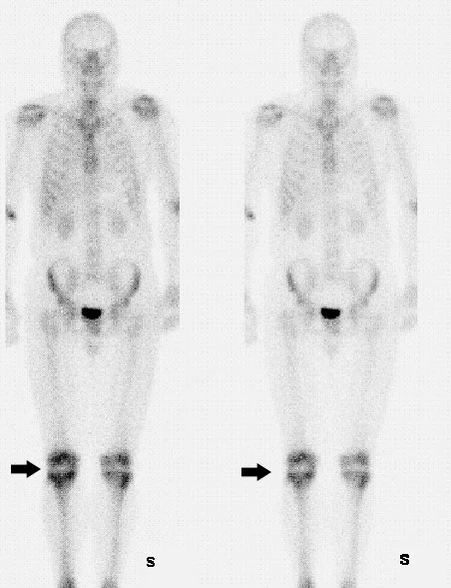
Остеосцинтиграфия — превосходный метод обнаружения скрытых, стрессовых переломов (которые встречаются у 10 % бегунов), микротрещин, ушиба кости и спортивных травм. Для диагностики травмы также возможно применение метода трёхфазной сцинтиграфии[7].
Остеосцинтиграфия — самый чувствительный тест на обнаружение ранних патологических изменений в суставах, основу которых составляет поражение синовиальной оболочки с нередкими изменениями внутрисуставных костных структур. Так на сцинтиграммах при артропатиях отмечают:
- увеличение захвата в сосудистой фазе (гиперемия)
- увеличение захвата в мягкотканой фазе (повышенная проницаемость)
Лучевая нагрузка
Лучевые нагрузки на органы и все тело пациента при использовании различных радиофармацевтических препаратов отличается. Данная особенность зависит от фармакокинетики препарата, применяемого изотопа, вида излучения и т. д. В среднем эффективная доза при проведении исследования составляет 0,0016 мЗв/МБк[8].
Приготовление РФП
Радиофармацевтические препараты приготавливают непосредственно перед введением пациенту. В качестве метки, как правило, применяют 99mTc, который получают в виде элюата из генератора 99Mo/99mTc прямо в диагностическом отделении. Далее полученный элюат добавляют в ампулу с лиофилизатом радиофармпрепарата для связывания метки с лигандом. После чего РФП готов к применению.
Работа с «активным» препаратом должна проводиться в соответствии с:
- «Основными санитарными правилами обеспечения радиационной безопасности» (ОСПОРБ-99)
- Санитарными правилами СанПин 2.6.1.2523-09 «Нормы радиационной безопасности (НРБ-99/2009)»
- Методическими указаниями «Гигиенические требования по обеспечению радиационной безопасности при проведении радионуклидной диагностики с помощью радиофармпрепаратов» (МУ 2.6.1.1892-04)
Литература
Ссылки
- Томский областной онкологический диспансер, отдел радионуклидной диагностики Архивная копия от 15 марта 2022 на Wayback Machine— страница Томского областного онкологического диспансера
- Лаборатория доклинических и клинических исследований радиофармпрепаратов — страница научно-исследовательской лаборатории ФМБЦ им. А. И. Бурназяна
- ЗАО «Фарм-Синтез» Архивная копия от 23 сентября 2010 на Wayback Machine — официальный сайт российской фармацевтической компании по производству радиофармпрепаратов


