Циклокоптер
Циклокоптер (цикложир) или циклолёт[1] — это летательный аппарат с конструкцией, в которой для создания тяги и подъёмной силы используются вращающиеся роторы. Такая схема имеет те же преимущества, что и вертолёт: возможность вертикального взлёта, зависания в воздухе, но и те же недостатки. Схема известна с начала XX века, однако первые полёты построенные по этой схеме аппараты совершили только в начале XXI века. Цикложир не следует путать с неудачными проектами летающих аппаратов с цилиндрическими крыльями, которые попытались использовать эффект Магнуса.
Что важно знать
Принцип
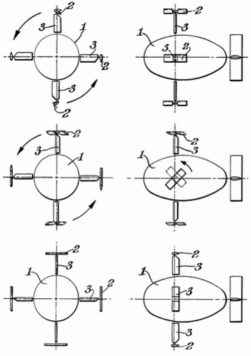
Циклоидный пропеллер, являющийся главным элементом циклолёта, напоминает гребное колесо, с заменой профилей лопастей. Шаг профилей (угол атаки) устанавливается либо коллективно посредством контрольного кольца со штангами ко всем лопастям, которое расположено эксцентрично и по отношению к оси ротора вращения, либо же лопасти постоянно индивидуально регулируются и корректируются системой управления. В нормальном полёте образуется подъёмная сила и тяга, направленная вперёд. Однако схема позволяет изменять тягу в любом направлении в плоскости перпендикулярной оси ротора[2]. Дифференцирование тяги между двумя роторами (по одному с каждой стороны фюзеляжа) могут быть использованы для поворота самолёта вокруг своей вертикальной оси, хотя обычное самолётное оперение, как правило, также используется[3].
История
Схема цикложира довольна проста и родилась из аналогии с гребными колёсами пароходов.
Первый аппарат, иногда относимый к цикложирам, датируется 1909 годом — это «Самолёт» российского военного инженера Евгения Павловича Сверчкова, иногда называемый «колёсный ортоптер». Схема аппарата может называться цикложиром или циклокоптером достаточно условно. Было три плоских поверхностей и вертикальный руль направления, причём задняя кромка одной из поверхностей могла искривляться, заменяя современный руль высоты. Подъёмная сила и тяга создавались «гребными колёсами», состоявшими из 12 лопастей, установленных в три группы через 120°. Лопасти имели вогнутый профиль и изменяли угол атаки при помощи эксцентриков и пружин для того чтобы воздух отбрасывался вниз и назад, то есть создавалась подъёмная сила и тяга. Колёса приводились в движение с помощью ременной передачи от двигателя «Бюше» в 10 л. с. (конструкции швейцарца Альфреда Бюши), установленного внизу аппарата. Трёхколёсное шасси было сделано сбрасываемым и служило только для взлёта аппарата. Каркас был выполнен из тонкостенных стальных труб и из бамбука со стальными струнами внутри, обтяжка — из сарпинки, что обеспечило массу пустого аппарата всего в около 200 килограмм. Аппарат был построен на средства Главного инженерного управления в Петербурге, что позднее в связи с провальными испытаниями (машина не только не взлетела, но даже не сдвинулась с места) привело к обвинению в растрате казённых средств инженера Сверчкова, что подвигло его забросить проект и погрузиться в политику. Сам аппарат, однако, в 1909 году ещё до испытаний демонстрировался в Санкт-Петербурге на выставке новейших технических достижений и даже получил медаль. Испытания, несмотря на ночное время, вызвали большой интерес у публики, поэтому свидетелями позора было довольно большое число людей.[4][5]
Позднее в Российской Империи было ещё несколько подобных проектов: проект Александра Николаевича Лодыгина 1914 года, который он предложил правительству и получил отказ[4]; проект А. К. Медведева (1914 год), которому отказал отдел изобретений Военно-промышленного комитета; проект А. Г. Михайлова (1916 год), который был признан перспективным для научных исследований, но не был воплощён в дереве и металле из-за идущей войны[4][5].
В это же время аналогичные проекты разрабатывались во Франции и Германии, которые тоже не были запатентованы, как и российские, но от которых сохранились кадры киноплёнки и рисунки[4][5].[6]
В 1920-м подобный аппарат соорудил американец К.Брукс (из Патонвилла, штат Монтана), но так же не запатентовал. По сохранившимся фотографиям аппарата без обшивки он тоже не имел шансов подняться в небо. Причём подъёмная сила создавалась вращением чего-то вроде короткого вращающегося крыла сверху, а тяга — гребными колёсами[4][5].
В 1923-ем году американец Джонатан Эдуард Кэлдвелл из Санта-Моники, Калифорния попытался запатентовать аппарат под названием «Цикложир».
До него аппараты этой схемы называли «ротопланами», «ортоптерами» или «орнитоптерами». Рисунок, представленный в патентное бюро, был довольно неряшлив, но из него и описания можно понять, что это был обычный самолёт, правда, вместо крыльев у него стояли роторы с четырьмя небольшими плоскостями. Патент был получен в 1927 году. По сути весь проект был способом по выкачиванию денег из спонсоров и Gravity Aeroplane Company существовала только лишь на бумаге. Изобретатель не уточнял такие технические моменты, как углы атаки и их изменение, к тому же к моменту получения патента уже занимался машущими орнитоптерами, позднее в 1930-х предложил ещё один проект ротоплана. Именно с именем Кэлдвелла связывают расцвет проектов подобных аппаратов в 1920-х и 1930-х.[4][5].
В 1924 году шведский инженер Страндгрен получил патент на свой вариант вертикально взлетающего летательного аппарата. Затем он девять лет экспериментировал во Франции с моделями и в 1933 году приступил к постройке полномасштабного аппарата. В процессе этой работы роторы увеличились до нормальных размеров. Он произвёл ряд серьёзных расчётов и пришёл к выводу, что минимальная допустимая скорость вращения, при которой аппарат может удерживаться в воздухе, составляла 270 об/мин, а максимальная скорость вращения — 420 об/мин. Он первый внятно и обоснованно обрисовал преимущества схема циклокоптера: вертикальный взлёт и посадка на любую пересечённую поверхность, отличная крейсерская скорость (до 200 км/ч), высокий потолок (для 1920-х-1930-х годов). В 1934 году был построен первый экземпляр в натуральную величину вместе с компанией «Лиоре и Оливье» на средства Societe d’Expansion Franco-Scandinave. Вес аппарата составил 600 килограмм с лопастями длиной 245 см и ротором, вращающимися со скоростью 180 об/мин. 130-сильный двигатель позволял машине ехать по земле, но в воздух машина так и не поднялась[4][5].
В начале 1930-х в США появилось ещё три варианта циклокоптеров. В 1930-м году в Сан-Франциско был построен аппарат «Сайклоджайро», была использована конструкция под названием циклоидного пропеллера. Однако в воздухе, в отличие от воды, подобный винт показал свою несостоятельность[4]. В том же году и в том же городе появился «Цикложир» Е. А. Шредера или просто «S-1». Одноместный аппарат с мотором «Гендерсон» являлся по сути обычным высокопланом с цикложирными роторами вместо толкающего винта. Считается, что на испытаниях был приподнят нос[4][5]. В 1932 году Джозеф Саббат из Филадельфии создал аппарат, по непроверенным данным «два винтовых гребных колеса („paddle-wheels of helices“) и мотоциклетный двигатель разогнали это чудо техники почти до 150 миль в час»[4].
В 1933 году некто Хэвиленд Платт из Филадельфии запатентовал «Цикложир Платта» — одноместный ротоплан. Крыло в виде гребного колеса было запатентовано в США (это лишь один патент из множества подобных) и прошло испытания в аэродинамической трубе МТИ в 1927 г. По сути, колеблющиеся крылья-лопасти этого колеса меняли угол атаки с положительного на отрицательный на каждом обороте, создавая подъёмную силу, и их управляемый эксцентриситет мог создать теоретически любую комбинацию горизонтальной и вертикальной сил. Однако нет данных о том, чтобы этот аппарат когда-либо летал, хотя есть данные что постройка велась, но не была доведена до конца. Аппарат был основан на экспериментах немецкого профессора Адольфа Рорбаха (см.ниже) и во многом является плагиатом его работ. Позднее Платт прославился на ниве вертолётостроения[4][5]. Во время исследований, которые проводились в NACA по проекту Платта, был создан эскиз аппарата со взлётным весом 1360 кг и мотором в 300 л. с., а также вычислена скороподъёмность — 210 м/мин при вертикальном наборе высоты и 460 м/мин при полёте с движением вперёд; последняя цифра примерно на 30 % больше, чем может показать самолёт с той же нагрузкой на мощность[4].
В лаборатории имени Лэнгли в Вашингтоне в 1933 году Джон Б. Уитли провёл упрощённый аэродинамический анализ цикложира, точнее теоретически проверил аэродинамические принципы и провёл численные расчёты примера ротора (был взят ротор с четырьмя лопастями, радиус 1.8 метра, размахом лопастей 7.3 м, хордой 144 мм и окружная скорость 91 м/с) и примера цикложира с двумя подобными роторами (взлётная масса 1362 кг при двигателе 300 л. с.). В ходе анализа схема была признан работоспособной, при этом висящий полёт, вертикальный подъём и горизонтальный полёт с разумной скоростью осуществимы при не чрезмерно высокой мощности двигателя. Было установлено, что цикложир способен к авторотации при планирующем полёте[4].
В 1935 Джон Б. Уитли и Рэй Уиндлер занялись продувкой ротора цикложира (4 лопасти, размах и диаметр — по 2.4 м, хорда — 95 мм) в 6-метровой аэродинамической трубе NACA. В результате работ были сделаны выводы:
- Цикложир способен к вертикальному взлёту, горизонтальному полёту и безмоторному планированию.
- Весовая отдача цикложира представляется весьма низкой, а максимальная скорость 100 миль/час — достижимой лишь при удельной нагрузке на мощность не более 3.2 кг/л. с.
- Зависимость потребной мощности от коэффициентов сопротивления и подъёмной силы предсказана теорией в 1933 году верно.
- Аэродинамическое качество быстро возрастает при повышении отношения «скорость лопасти/скорость полёта» и, вероятно, подвержено влиянию колебаний лопастей.
- Требуется исследовать поведение колеблющихся несущих поверхностей, чтобы внести ясность в прошлые и будущие исследования на тему «вращающееся крыло»[4].
В Германии также развивали данную оригинальную идею. В 1933 году профессор Адольф Рорбах спроектировал цикложир собственной конструкции с трёхлопастными роторами длиной 4,4 м. Аппарат с максимальным взлётным весом 950 кг теоретически мог подниматься на высоту 4500 м и летать со скоростью 200 км/ч на расстояния до 400 км. Вертикальный взлёт, высокая манёвренность — всё говорило в пользу разработки Рорбаха. Инженер предложил свой проект активно развивающимся Люфтваффе, но получил отказ[5], по другим данным работы в 1934 году всё таки велись[4]. Однако свои наработки он широко публиковал в профильных журналах, где их и увидел Платт.[7][8]
Расчётные характеристики:
- Общие размеры: длина — 8.6 м, высота — 4.3 м, размах — 10 м.
- Роторы: диаметр — 3.6 м, три лопасти, длина лопасти — 4.4 м, хорда — 0.315 м, максимальная скорость вращения — 420 об/мин.
- Мощность двигателя — 240 л. с., возможно, от двух моторов.
- Вес пустого — 680 кг, полезная нагрузка — 270 кг, взлётный вес — 950 кг.
- Скорости: максимальная — 200 км/ч, крейсерская (при оборотах 75 %) — 170 км/ч, минимальная — 0 км/ч, максимальная при полёте назад — 30 км/ч.
- Потолок — 4500 м при горизонтальном полёте и 500 м при вертикальном наборе высоты. Дальность полёта — 400 км с тремя пассажирами и 700 км без пассажиров.
- С перегрузом 250 кг (то есть со взлётным весом 1200 кг) минимальная скорость — 21 км/ч, максимальная — 190 км/ч, потолок — 2700 м. Дальность полёта — 1050 км с двумя пассажирами и 1550 км без пассажиров. Видимо, в этих случаях весь перегрузочный вес предполагалось использовать под дополнительное топливо[4].
Спустя много лет NASA подняло патент Рорбаха (который к тому времени уже давно умер, причём уже в Америке) и провело дополнительные расчёты с помощью современных компьютеров. Рорбах нигде не ошибся. В связи с этим NASA серьёзно рассматривало проект разработки ротоплана, но как всегда не хватило средств.[5]
Циклоидный пропеллер был запатентован профессором Кирстеном ещё в самом начале 1920-х годов. Его активно поддерживал Уильям Боинг. Проверку начали с водяного пропеллера, где идея хорошо себя зарекомендовала, однако из-за трудностей с реализацией Кирстен продал патенты германской компании «Войт-Шнейдер». Для дальнейшего изучения воздушного варианта винта требовалась аэродинамическая труба достаточного размера. Таких тогда в США их было очень мало, и профессор Кирстен предложил Вашингтонскому Университету построить собственную большую (2,4 на 3,6 м) трубу. После постройки трубы в 1936 году она была настолько занята, что Кирстен смог испытать собственную модель только в 1942 году. Эти опыты показали несостоятельность его идеи[4].
В 1935 году некто Ран из Нью-Йорка построил одноместный экспериментальный аппарат с вращающимися крыльями и 240-сильным форсированным двигателем «Райт-Уирлвинд». Два 6-футовых крыла с каждой стороны по идее должны были заставить аппарат подниматься и опускаться вертикально, или лететь горизонтально без помощи обычного пропеллера со скоростью до 100 миль в час, но свидетельств того, что 15-футовому аппарату вообще удалось взлететь, нет[4].
В том же в 1935 в одном из журналов США публиковалось достаточно подробная схема цикложира очень похожая на немецкий проект профессора Рорбаха[4].
В 1937 году к теме снова вернулся Кэлдвелл, открыв проект АВВП «Цикложир», и начал строить новый прототип. «Это был очередной неправдоподобный АВВП в духе фантастических летательных машин, украшавших обложки журналов типа „Popular Science“ в 1930-х годах». На сей раз оси двух длинных трёхлопастных гребных колёс по бокам обычного фюзеляжа были ему параллельны. предполагалось что звездообразный двигатель в 125 л. с.сможет создать достаточную подъёмную силу. Один из сотрудников Кэлдвелла позже утверждал, что аппарат действительно совершал успешные «подпрыги» на высоту около шести футов[4].
В 1966 году в журнале «Наука и жизнь» был опубликован оригинальный проект вертикально взлетающего пассажирского аппарата немецкого изобретателя Рейнхольда Каллетша. Во время стоянки на земле эта машина должна опираться на пятиметровые телескопические стойки шасси. Принцип цикложира здесь используется для вертикального взлёта. Осью ротора здесь являлся сам фюзеляж, вокруг которого вращались с помощью реактивных сопел три штанги-спицы, на концах которых шарнирно укреплены эллипсообразные пластины—крылья. Аналогичное устройство, но уже меньших размеров должно было быть установлено на хвосте фюзеляжа. Во время вращения «винтов» специальное устройство должно было управлять положением пластин-крыльев с таким расчётом, чтобы они всё время находились под некоторым углом атаки к набегающему потоку и создавали необходимую подъёмную силу. После набора необходимой высоты предполагалось останавливать вращение и использовать пластины, как раз как крылья для горизонтального полёта[4].
В 1975 году во Франции (патент Франции № 75.01907), а в 1976—1977 годах в США (US patent 4048947), был запатентован роторный ветродвигатель основанный на цикложирном принципе. Здесь изменение угла атаки происходит автоматически под воздействием самого ветра из-за смещения центра тяжести (однако предусмотрено также использование гибких пластин для создания несимметричного профиля, возможно и использование пружин). Однако для создания летательного аппарата это решение непригодно[4].
В этот период запатентован ряд очень оригинальных цикложирных проектов, однако они так и не были воплощены в металле.
В 1976—1980-х годах Марсель Шабоне запатентовал тягово-несущие роторы (патент Франции № 76.39820, 1976; патент США № 4210299, 1977—1980). Использованы двухлопастные. Предусмотрено два варианта. В первом случае изменение установочного угла атаки «автоматическое» — лопасти свободно болтаются между ограничителями под действием аэродинамических и/или центробежных сил. При движении лопасти вниз создаётся подъёмная сила, при движении вверх — толкающая. При этом в нижней части цикла установочный угол меняется резко, с ударом. Поэтому ограничители, по замыслу автора, должны быть эластичными. (см.выше патент ветродвигателя). Во втором случае угол атаки управляется «программно», при помощи профилированных кулачков. Предполагается иметь разные наборы кулачков для разных режимов полёта (взлёт, набор высоты, крейсерский режим, снижение, посадка). Стиль механики чем-то напоминает лентопротяжный механизм магнитофона 60-х годов. И ещё одна важная деталь: стабилизатор, при наличии такового, предполагается вынести вперёд, чтобы он не попал в воздушный поток от роторов[4][5].
Американец Томас Шарп запатентовал с 1977—1980 годах (патент США № 4194707) устройство для вертикального взлёта и посадки самолёта. Цикложирные роторы малого радиуса прикрыты кожухами, помещены в крыло и применены в роли обычных вентиляторов. Управление циклическим установочным углом — механическое, эксцентриковое. В горизонтальном полёте роторы отключаются от двигателя, а горизонтальную тягу создаёт обычный толкающий винт изменяемого шага. Продольная балансировка обеспечивается рулём высоты, находящимся в струе пропеллера. Руль высоты имеет дополнительную створку для реверса тяги. Второй вариант устройства предназначен для более скоростных самолётов с применением турбореактивных двигателей и двух пар воздухозаборников (верхних и боковых). Трансмиссия от ТРД к цикложирным роторам — гидравлическая. В горизонтальном полёте жалюзи верхних воздухозаборников и выходные створки вентиляторов закрываются. Предусмотрено дополнительное средство управления в режиме висения — струйные рули на крыльях и киле, использующие сжатый воздух от компрессоров ТРД. В остальном этот вариант подобен первому. Ни в первом, ни во втором варианте не используется главное достоинство цикложира — возможность практически безынерционного управления вектором тяги в диапазоне 360°[4][5].
Американец Артур Кримминс в 1980—1984 годах запатентовал (патент США № 4482110) очень оригинальную конструкцию летающего крана — дирижабль-цикложир. при этом собственный вес аппарата уравновешивается подъёмной силой аэростата, а вес груза — подъёмной силой цикложирных крыльев. Осью цикложирного ротора служит ось дирижабля, вокруг которой вращаются на поворотных пилонах (играющих также роль лопастей воздушного винта) крылья и винтомоторные установки. Аппарат может принимать конфигурацию «классического» дирижабля, «классического» цикложира и все промежуточные. Благодаря этому отсутствуют ограничения на ориентацию вектора тяги — весьма нужное для летающего крана свойство. Большие размеры конструкции, характерные для аэростатов, позволят разгонять ротор до довольно высокой окружной скорости при умеренных центробежных нагрузках, что снижает влияние ряда недостатков классических цикложиров[4][5].
Американец Хайнц Герхардт в 1992—1993 годах запатентовал (патент США № 5265827) новый летательный аппарат с гребными колёсами, являющийся по аэродинамической схеме обычным цикложиром. Продольная балансировка обеспечивается либо вертикальным пропеллером на киле, либо второй парой цикложирных роторов. Особенность аппарата — отсутствие кинематики управления циклическим установочным углом лопастей. Вместо этого на каждой лопасти установлен гидроцилиндр, постоянно управляемый компьютером по выбранному закону. Предполагается таким образом достичь оптимального обтекания каждой лопасти при всех режимах полёта. Проект реализован не был[4][5].
К идее снова вернулись уже в этом веке. Сеульский государственный университет (Южная Корея), Национальный университет Сингапура, группа Bosch Aerospace и ещё несколько организаций взялись за реализацию идеи. Первая модель оторвалась от земли в 2007 году[5]. После этого появилось ещё ряд различных моделей, однако до полноразмерного аппарата ещё не дошло. Есть также нестандартный вариант — 4 ротора расположенных в виде креста[9].
В августе 2020 года на форуме «Армия-2020» фонд перспективных исследований представил летный демонстратор первого в России циклолёта «Циклон» массой 60 кг[10][11].
В апреле 2021 года российский Фонд перспективных исследований приступил к созданию инновационного летающего автомобиля с циклическими движителями под названием «Циклокар», который сможет перевозить одновременно до шести пассажиров[12].
Проекты Fanwing и Propulsive wing
По большому счёту проекты Fanwing и Propulsive wing являются развитием идей цикложира, так как они используют циклоидальный пропеллер в качестве вентилятора. Модели летают, дело за полноразмерным аппаратом. У схемы есть ряд недостатков: высокое лобовое сопротивление и невозможность планирования при отказе ротора[4][5][13].
См. также
Примечания
Литература
- В. Б. Шавров «История конструкций самолётов в СССР (до 1938 г.)»
- П. Д. Дузь «История воздухоплавания и авиации в России (1914—1917 гг.)»
- П.Бауэрс «Летательные аппараты нетрадиционных схем»
- «Наука и жизнь», 9.1966
- «The Cyclogyro», Vertiflight, The American Helicopter Society, 2005, Vol. 51; No. 2, pages 16-19
Ссылки
- TEKNISK TIDSKRIFT, 1934 года, на шведском
- aerofiles.com
- naca.larc.nasa.gov
- fishermanlife.com
- blog.modernmechanix.com
- aa.washington.edu
- freepatentsonline.com
- циклокоптер сеульского университета
- разработки сеульского университета
- DESIGN AND DEVELOPMENT OF UNMANNED VTOL, CYCLOCOPTER. (PDF, 651K)
- Bosch Aerospace
- www.navysbir.brtrc.com
- Разработка компьютерной модели
- Разработки Сингапурского университета
- Проект Fanwing
- Another Look at 1930’s Cyclogyro Plane Design
- A series of Cyclocopters was developted in Seoul National University, Korea


