Перископ
Периско́п (от др.-греч. περι- «вокруг» + σκοπέω «смотрю») — оптический прибор для наблюдения из укрытия. Перископ не позволяет видеть наблюдателя в пределах прямой видимости[1][2].
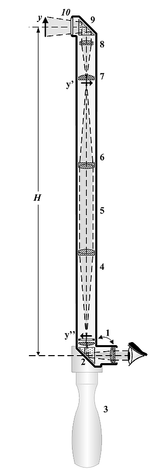
Простейшая форма перископа — труба, на обоих концах которой закреплены зеркала, наклонённые относительно оси трубы на 45° для изменения хода световых лучей. Эта форма перископа с добавлением двух простых линз служила для наблюдения из окопов во время Первой мировой войны. Военнослужащие также используют перископы в некоторых орудийных башнях и в бронированных машинах[1]. В более сложных вариантах для отклонения лучей вместо зеркал используются призмы, а получаемое наблюдателем изображение увеличивается с помощью системы линз. Они используются на подводных лодках и в различных областях науки.
Перископичность или оптическая высота перископа — расстояние между оптическими осями объектива и окуляра: один из основных параметров прибора.
Наиболее известные виды перископа — такие, как перископы на подводных лодках, танках, ручные перископы и стереотрубы (их также можно использовать как перископ) — широко применяются в военном деле.
Что важно знать
История технологии
Прототип перископа изобрёл Иоганн Гутенберг в 1430-х годах, его устройство позволяло пилигримам смотреть поверх голов в толпе на фестивале в Ахене.[источник не указан 1117 дней]
Ян Гевелий описал перископ в своей работе «Селенография, или описание Луны» (лат. Selenografia, sive Lunae Descriptio [en]) в 1647 году. Он же впервые предложил использовать перископ для военных целей.
Михаил Ломоносов описал "горизонтоскоп" в своей работе «Горизонтоскоп, новый оптический инструмент» (точная дата выхода работы неизвестна, но не позднее 1765 года). В отличие от прибора Яна Гевелия, "горизонтоскоп" Ломоносова имел круглую вращающуюся трубу и качающееся верхнее зеркало, что давало возможность и кругового обзора, и изменения угла зрения.
Экспериментальная подводная лодка конструкции российского инженера генерал-адъютанта Карла Андреевича Шильдера, спущенная на воду в 1834 году, была оснащена устройством, которое описывалось следующим образом: «Чрезъ крышку кормовой башни проходила мѣдная колѣнчатая труба N съ отражательными зеркалами, посредствомъ которой наблюдатель, находящійся въ башнѣ, могъ обозрѣвать поверхность воды, лежащую впереди лодки. Эта труба двигалась вверхъ и внизъ, и могла выдвигаться внаружу такъ, что верхнее ея колѣно находилось надъ поверхностью воды; вдвинувъ же всю трубу въ башню, можно было совершенно скрыть слѣды подводной лодки.[3]» Это был достаточно примитивный прибор с двумя металлическими зеркалами в выдвижной и поворачивающейся круглой трубе, позволяющий вести наблюдение за горизонтом лишь в тихую погоду.
Французский учёный Ипполит Мария-Дэви[fr] в 1854 году предложил морской перископ, состоящий из трубы и двух развёрнутых под углом 45° зеркал.
Работоспособный призматический перископ для подводной лодки был реализован в США во время Гражданской войны 1861−65 гг. американцем Томасом Х. Доути (англ. Thomas H. Doughty).
Начиная с Первой мировой войны солдаты используют перископы, прикреплённые к стволам винтовок, поскольку данный способ позволяет стрелку находиться в окопе и в то же время вести огонь, не подвергая себя опасности быть поражённым огнём противника[4]. В Русской императорской армии подобное устройство (известное как гипоскоп) использовалось на пулемётах Максима вьючного типа[5].
Начиная со Второй мировой войны перископы стали использовать также и на танках с целью сделать более безопасным обзор для водителя или наводчика. В частности, перископы были установлены на немецких танках «Тигр».
На подводных лодках перископы применяются для наблюдения из подводного положения (с «перископной глубины») за навигационной обстановкой на поверхности моря и для обнаружения летательных аппаратов противника. При погружении на большую глубину выступающие трубы перископов втягиваются в корпус лодки. Перископы могут быть совмещены с устройством для работы двигателя под водой.
Рекордные модели
- Рекорд по длине и размерам перископов, установленный во время «гонки вооружений» периода Холодной войны, принадлежит американскому «Стар-трекеру» (англ. Type 11 Star Tracker Periscope), изготавливавшемуся на заводе оптического оборудования корпорации «Коллморген» в Нортгемптоне, штат Массачусетс, и устанавливавшемуся на атомные подводные лодки-носители БРПЛ «Поларис» (SSBN-598 и другие ПЛАРБ типа «Джордж Вашингтон»), оснащённому функцией навигации по звёздному небу[6].
Примечания
Литература
- Наблюдательные приборы // Военная энциклопедия : [в 18 т.] / под ред. В. Ф. Новицкого … [и др.]. — СПб. ; [М.] : Тип. т-ва И. Д. Сытина, 1911—1915.


