Накашидзе-Шаррон
«Накаши́дзе-Шарро́н» (также «Шарро́н-Накаши́дзе», бронеавтомобиль Накашидзе, Charron-Girardot-Voigt) — пулемётный бронеавтомобиль Вооружённых сил Российской империи. Первый бронеавтомобиль, поступивший на вооружение русской армии. Проект бронеавтомобиля разработан в 1904 году офицером русской армии Михаилом Накашидзе с использованием базы автомобиля французской фирмы «Шаррон, Жирардо э Вуа» (фр. Charron, Girardot et Voigt). В период с 1905 по 1908 год на фирме Charron, Girardot et Voigt по заказу российского Военного ведомства по чертежам Накашидзе было построено несколько бронеавтомобилей, часть из которых была доставлена в Россию. По другой версии, князь Накашидзе не имел как такового отношения к разработке этой машины, а её автором являлся французский полковник-артиллерист Гюйе.
Что важно знать
| Накашидзе-Шаррон | |
|---|---|
| Charron-Girardot-Voigt | |
| Классификация | пулемётный бронеавтомобиль |
| Боевая масса, т | 2,95 |
| Экипаж, чел. | 4—5 |
| История | |
| Производитель |
|
| Годы производства | 1905—1908 |
| Годы эксплуатации | 1905—1914(?) |
| Количество выпущенных, шт. | 11[1] |
| Основные операторы |
|
| Размеры | |
| Длина корпуса, мм | 4800 |
| Ширина, мм | 1700 |
| Высота, мм | 2400 |
| Бронирование | |
| Тип брони | стальная катаная |
| Лоб корпуса, мм/град. | 4,5 |
| Борт корпуса, мм/град. | 4,5 |
| Корма корпуса, мм/град. | 4,5 |
| Днище, мм | 4,5 |
| Крыша корпуса, мм | 4,5 |
| Лоб рубки, мм/град. | 4,5 |
| Борт рубки, мм/град. | 4,5 |
| Корма рубки, мм/град. | 4,5 |
| Крыша башни, мм/град. | 4,5 |
| Вооружение | |
| Пулемёты | 1 × 8-мм «Гочкисс» |
| Подвижность | |
| Тип двигателя |
Charron, бензиновый, 4-цилиндровый, рядный, карбюраторный, жидкостного охлаждения |
| Мощность двигателя, л. с. | 37 |
| Скорость по шоссе, км/ч | 45 |
| Скорость по пересечённой местности, км/ч | 30 |
| Колёсная формула | 4 × 2 |
| Тип подвески | зависимая, на листовых рессорах |
| Преодолеваемый подъём, град. | 25 |
| Преодолеваемый ров, м | 3,0 (с переносными мостками) |
История создания
В 1904 году подъесаул Сибирского казачьего полка маньчжурской армии Михаил Накашидзе, сын генерала, князя Александра Накашидзе, в инициативном порядке разработал проект пулемётного бронеавтомобиля с учётом опыта войны в Маньчжурии. Незадолго до окончания русско-японской войны Накашидзе представил свой проект в Военное ведомство, где получил поддержку командующего маньчжурской армией генерала Николая Линевича. Инициатива энергичного офицера была одобрена. Постройка машины по российским чертежам была заказана французской фирме Charron, Girardot et Voigt, представившей в 1902 году один из первых в мире бронеавтомобилей — Charron 50CV. Однако монография М. Коломиеца «Русские броневики в бою» опровергает авторство Накашидзе в создании бронеавтомобиля. Кроме того указывается что князь являлся представителем компании «Шаррон, Жирардо э Вуа» и только лоббировал её интересы в Генеральном штабе. В частности в переписке он представлялся как директор отдела бронированных автомобилей компании и фактически был её совладельцем. Настоящий же автор проекта французский полковник-артиллерист Гюйе.
В 1905 году броневик был изготовлен и доставлен в Россию.[2] Правда, фирма Charron, Girardot et Voigt собрала не один, а два броневика — второй предназначался для французской армии.[1]
По прибытии в Российскую империю бронеавтомобиль был подвергнут масштабным испытаниям. В частности, «Накашидзе-Шаррон» совершил испытательный пробег по маршруту Санкт-Петербург — Ораниенбаум — Венки, во время которого бронеавтомобиль передвигался как по шоссейным и просёлочным дорогам, так и по бездорожью и пашне. Пробег продемонстрировал достаточно высокую степень надёжности машины. Пробные стрельбы в Ораниенбаумской стрелковой школе также показали весьма обнадёживающие результаты. В этом же 1905 году машина использовалась в Красносельских манёврах. Специальная комиссия Военного ведомства признала бронеавтомобиль вполне пригодным для разведки, связи, борьбы с конницей, а также для преследования отступающего противника.
По итогам испытаний Военное министерство предполагало заказать во Франции 10 автомобильных шасси, чтобы забронировать их уже в России, на Ижорском заводе. Однако вследствие большой загруженности завода было решено выдать фирме Charron заказ на 10 готовых бронеавтомобилей. Бронемашины были готовы в 1908 году и отправлены в Россию, однако при прохождении через Германию две машины были изъяты немецкой таможней «с целью оценки их возможностей». Несколько позже они появились на манёврах ландвера.[1][2]
Кроме того, по отрывочным данным, несколько бронеавтомобилей «Накашидзе-Шаррон», проект которых был слегка модернизирован морским офицером, капитаном третьего ранга Гийе, были выпущены на заводах Charron для французской армии.
Описание конструкции
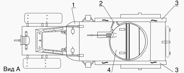
Полностью закрытый корпус бронеавтомобиля изготовлялся из броневой хромоникелевой стали толщиной 4,5 мм, обеспечивавшей защиту машины от пуль, осколков снарядов и шрапнели. Броневые листы корпуса крепились к каркасу заклёпками. В передней части располагался двигатель, сразу за ним — отделение управления, далее — боевое отделение с башней кругового вращения.
Посадка и высадка экипажа производилась через дверь в левом борту, открывавшуюся в сторону кормы. В отделении управления водитель размещался слева, командир бронемашины — справа. Для наблюдения за полем боя они имели в своём распоряжении смотровые щели и перископ. Для улучшения обзора с места водителя вне боя наклонная крышка лобового люка могла подниматься в горизонтальное положение. Интересно, что в бортах корпуса имелись три крупных окна (два по правому и одно по левому борту), закрываемых в случае надобности бронещитами. Данное решение позволяло ощутимо повысить комфортность работы экипажа на марше в жаркую погоду. К обоим бортам корпуса диагонально крепились U-образные стальные мостки, которые в боевой обстановке снимались и использовались для преодоления крупных рвов, канав и окопов.
На крыше боевого отделения, находившегося позади отделения управления, располагалась средних размеров цилиндрическая башня со скошенными листами крыши. При этом передний скос являлся в то же время и люком, крышка которого могла подниматься в горизонтальное положение, так же, как и лобовой бронелист отделения управления. Весьма интересно был решён механизм поворота башни, не имевшей обычной впоследствии шариковой опоры. Башня опиралась на колонну, установленную на полу боевого отделения. Вручную, при помощи колеса, перемещавшегося по ходовому винту колонны, можно было приподнять башню над корпусом и повернуть её. Только в таком положении мог быть обеспечен круговой обстрел из пулемёта.[1][2]
Вооружением бронеавтомобиля являлся 8-мм пулемёт «Гочкисс», установленный в башне на специальном кронштейне. Кроме того, ещё один пулемёт той же модификации — запасной — перевозился в корпусе броневика.[1][2]
Силовой установкой бронеавтомобиля служил бензиновый 4-цилиндровый рядный карбюраторный двигатель Charron жидкостного охлаждения, мощностью 37 л. с., позволявший машине развивать максимальную скорость 45 км/ч при движении по шоссе и 30 км/ч — при перемещении по рокаде. Примечательно, что, помимо обычной в то время системы запуска двигателя при помощи пускового рычага, была предусмотрена возможность запуска двигателя из отделения управления, что было немаловажно в боевой обстановке. Доступ к двигателю в целях ремонта и обслуживания обеспечивался через лючки со съёмными крышками, имевшиеся во всех стенках моторного отсека.
Ходовая часть — заднеприводная (4 × 2), с подвеской на продольных полуэллиптических листовых рессорах. В ходовой части использовались деревянные спицованные колёса с пулестойкими шинами, прикрывавшиеся броневыми колпаками. Задние колёса дополнительно прикрывались полукруглыми бронекожухами.[1]
Для передвижения в ночное время бронеавтомобиль оборудовался большой съёмной фарой-прожектором, размещённой на стойке перед передним наклонным листом моторного отсека. В боевой обстановке для освещения использовалась вторая фара, которая устанавливалась в переднем бронелисте корпуса под лобовым окном и прикрывалась бронезаслонкой.[1]
Боевой экипаж бронеавтомобиля состоял из трёх человек; командир и водитель размещались в отделении управления, а стрелок — в пулемётной башне. Однако, помимо экипажа, внутри корпуса могли дополнительно разместиться от двух до пяти человек, то есть автомобиль мог использоваться и в качестве бронетранспортёра, перевозя, к примеру, рекогносцировочные (разведывательные) группы пехотинцев, офицеров связи, раненых бойцов, медиков и т. п.[1]
Служба и боевое применение
Бронеавтомобили «Накашидзе-Шаррон» стали первыми серийными бронированными машинами русской армии. По прибытии в Россию броневики поступили в специальные учебные части Петербургского, Киевского, Виленского и Варшавского военных округов. Однако, как ни странно, дальнейшего применения они не получили. Во всяком случае, данные об использовании этих бронеавтомобилей в ходе Первой мировой и Гражданской войн отсутствуют.[1]
Оценка машины
Несомненно, для своего времени «Накашидзе-Шаррон» был весьма передовой боевой машиной. Бронеавтомобиль воплощал в себе ряд инженерно-технических решений, ставших впоследствии классическими: полную бронировку корпуса, перископ для безопасного наблюдения за полем боя, пулемётную башню кругового вращения, колёса с пулестойкими резиновыми шинами, возможность запуска двигателя из отделения управления. Военная комиссия отмечала, что бронеавтомобиль очень хорошо подходит для решения задач разведки, связи в зоне боевых действий, отражения кавалерийских атак и оперативной переброски сил на опасные направления, в том числе не прикрытые войсками. Помимо всего прочего, в отчёте комиссии содержалась следующая, весьма прозорливая фраза: бронеавтомобили «имеют широкую будущность как вспомогательное средство на поле боя»[3].
Тем не менее идея бронеавтомобиля не получила должной поддержки со стороны военных. Крест на дальнейшей судьбе «Накашидзе-Шаррона» поставила гибель Михаила Накашидзе при взрыве на даче премьер-министра Петра Столыпина 25 (12) августа 1906 года. Без энергии своего создателя бронеавтомобили, образно говоря, «легли на полку». Дальнейших заказов на их производство не последовало, и к началу Первой мировой войны Российская империя подошла, практически не располагая бронеавтомобилями.
Однако опыт, полученный военными инженерами в процессе эксплуатации «Накашидзе-Шарронов», стал одной из причин того, что уже к концу 1914 года Россия смогла развернуть производство собственных броневиков, не уступавших западным аналогам, таких как «Гарфорд-Путилов» и «Руссо-Балт тип С», и эффективно использовать их в боях.[4][5]
Примечания
Литература
- Барятинский М. Б., Коломиец М. В. Бронеавтомобили русской армии 1906—1917 гг. — М.: Техника-молодёжи, 2000. — 108 с. — 2000 экз. — ISBN 5-88879-029-X.
- Коломиец М. В. Броня русской армии. Бронеавтомобили и бронепоезда в Первой мировой войне. — М.: Яуза, 2008. — 448 с. — (От двуглавого орла к красному знамени). — 4000 экз. — ISBN 978-5-699-27455-0.
- Шаблон:Книга:Холявский - Энциклопедия бронетанкового вооружения и техники. Колёсные и полугусеничные бронеавтомобили и бронетранспортёры
Ссылки
- Бронеавтомобиль М. А. Накашидзе / Charon 1904. www.aviarmor.net. Дата обращения: 19 августа 2011. Архивировано из оригинала 18 мая 2011 года.
- В начале века. М. Барятинский. Моделист-конструктор. 1990 № 9
- А. Кихтенко. Бронеавтомобили русской армии. ww1.milua.org. Дата обращения: 10 марта 2010.


