Когерер
Коге́рер (лат. cohaerere — сцеплять) — особый тип детектора электромагнитных колебаний, применявшийся в первых приёмниках беспроводного телеграфа. Получил распространение и развитие после исследовательских работ Эдварда Бранли, проведённых в 1890 году, а затем экспериментов и публичной демонстрации действующих приборов по передаче и приёму радиоволн Оливера Лоджа в 1894 году.
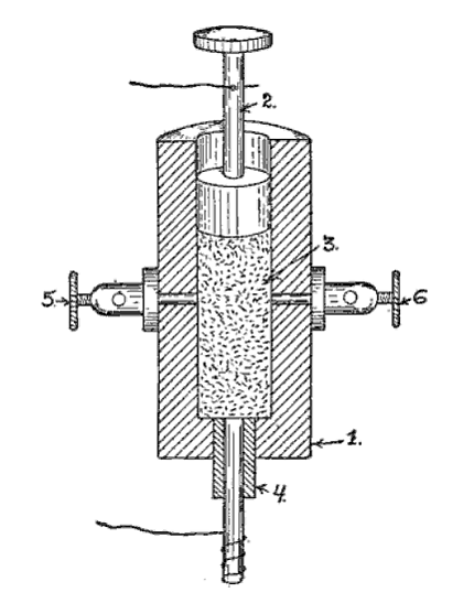
Представляет собой трубку из диэлектрика с двумя близко расположенными электродами, промежуток между ними засыпан металлическими опилками. В исходном состоянии электрическое сопротивление между электродами высокое, но при достаточном уровне высокочастотного электрического воздействия оно резко уменьшается и сохраняет низкое значение до последующего встряхивания. Физический процесс снижения сопротивления когерера остаётся до сих пор невыясненным, но это не помешало его практическому применению в начальный период развития радиотехники — когерер применялся для приёма радиоволн примерно до 1906 года.
История появления
Первые исследования электрический проводимости порошков произвёл шведский физик Мунк. В статье, опубликованной в 1835 году, он сообщает о своих опытах с порошками из сульфида ртути, порошка олова, угля и других материалов в стеклянной трубке, снабжённой проволочными металлическими выводами. Учёный экспериментировал также с твёрдыми сплавами, например, сплавом серы с угольным порошком. Мунк разряжал через изготовленные им устройства лейденскую банку. После электрического разряда в такое устройство при достаточно высоком напряжении предварительно заряженной лейденской банки электрическое сопротивление массы между электродами значительно снижалось и сохраняло низкое значение. После высыпания и повторного засыпания в трубку сопротивление порошка снова оказывалось высоким. Существенное повышение сопротивления происходило и при встряхивании трубки[1]:146.
Подобные опыты проводились и другими исследователями. В 1866 году братья Варлей из Англии запатентовали устройство для защиты телеграфной аппаратуры, которое содержало два медных электрода, разделённых тонким слоем угольного порошка в смеси с порошком из непроводящего электричество материала. При низком напряжении устройство имело большое электрическое сопротивление, а при высоком — малое, что защищало телеграфную аппаратуру от ударов молний в линии связи[1]:146.
В 1884 году итальянский физик Фемистокл Кальцекки-Онести исследовал электрическое сопротивление металлических опилок в эбонитовой и стеклянной трубках. Под действием электрических процессов при размыкании цепи, содержавшей индуктивность и трубку с опилками, сопротивление опилок значительно уменьшалось[1]:146.
В 1889 году английский физик и изобретатель,Оливер Лодж экспериментировал с приборами, описанными в опытах Генриха Герца, при этом в качестве антенны приёмника он использовал вибратор, как в передатчике. Для повышения чувствительности приёмного вибратора он предельно уменьшил длину его искрового промежутка, при этом после проскакивания искры через искровой промежуток электроды вибратора замыкались (сцеплялись). Для размыкания электродов требовалось лёгкое встряхивание. Подключив к электродам вибратора источник питания и электрический звонок, Лодж осуществил звуковую сигнализацию факта принятия электромагнитной волны. Приёмник со «сцепляющимися» электродами искрового промежутка он назвал «когерером» и сообщил о нём в докладе в 1890 году. Лодж предложил и другую конструкцию когерера, более чувствительную и более простую в регулировке. В этом варианте металлическое остриё касалось окисленной поверхности алюминиевой пластинки[3].
Прибор, обнаруживающий на расстоянии электромагнитные колебания, был детально[4] исследован Эдвардом Бранли в 1890 году[5] и представлял собой стеклянную или эбонитовую трубку, наполненную металлическими опилками, которые могли резко и намного (в несколько сот раз) увеличивать свою электропроводность от высокочастотного электрического воздействия — от электрических разрядов электрофорной машины или катушки Румкорфа. Бранли назвал свой прибор «радиокондуктор» (другими исследователями использовалось также название «трубка Бранли») и не принял закрепившееся за прибором впоследствии название «когерер», так как не был согласен с механизмом проводимости, предложенным Лоджем. Для восстановления низкой электропроводности «трубки Бранли» её нужно было встряхнуть, чтобы нарушить образовавшийся контакт между опилками[1]:147. Результаты исследований Бранли были опубликованы в 1891 году во французских изданиях, а также в британском журнале The Electrician[6][7]:43.
Когерер Лоджа с единичным контактом был нестабилен в работе и сложен в регулировке из-за малости искрового промежутка. Трубка Бранли оказалась более устойчивым и надёжным приёмником электромагнитных волн. С современных позиций трубка Бранли с множественными миниатюрными контактами в виде слоя металлического порошка является примером важного общего принципа: множество малонадёжных элементов обеспечивает высокую надёжность устройства в целом[8].
Практическое использование и развитие
В 1894 году «трубка Бранли» была использована Лоджем, который дал ей название «когерер»[* 3], имея в виду сцепление опилок между собой под действием электромагнитных волн[1]:147. Результаты работ были доложены Лоджем в июне (лекция «Работы Герца»[7]:50) и августе 1894 года и тогда же опубликованы. Доклады сопровождались демонстрацией приёма электромагнитных волн от передатчика, находившегося вне здания. Индикацию сигналов обеспечивал гальванометр[9][3]. Для встряхивания опилок Лодж использовал включённый последовательно с когерером электрический звонок, вибрация которого после срабатывания передавалась когереру через элементы конструкции. Позднее Лодж использовал постоянно работающий ударник с часовым механизмом, не создающим (как звонок) электрических помех[8][7]:54.
В 1895 году Александр Попов, ознакомившись с работами Лоджа, использовал когерер с железными опилками в созданном для лекционных целей приборе для обнаружения и регистрирования электрических колебаний, получившем название «грозоотметчик». Попов остановился на конструкции когерера, состоявшей из стеклянной трубки диаметром около 1 см и длиной 6—8 см, к стенкам которой изнутри были приклеены тонкие платиновые полоски. Наполовину наполненная опилками трубка располагалась горизонтально. В схему прибора последовательно с когерером было включено реле — его контакты при срабатывании когерера включали электрический звонок, язычок которого на обратном ходе встряхивал когерер для восстановления его чувствительности[10][* 4].
Начиная приблизительно с 1897 года, Гульельмо Маркони в своих устройствах использовал когерер несколько другой конструкции. Вместо железных опилок были использованы опилки из сплава никеля (95 %) и серебра (5 %). Вставки, удерживающие опилки, были изготовлены из серебра с амальгамированными скошенными контактами со стороны опилок. Благодаря скошенным контактам, вращая когерер вдоль продольной оси, можно было пересыпать опилки в зазор разной ширины и таким образом изменять чувствительность прибора. Из трубки когерера был откачан воздух, чтобы предотвратить окисление опилок. Также применялось автоматическое встряхивание когерера[11].
В практической схеме (см. рисунок) когерер включён одновременно в два контура: антенна — земля и источник питания B1 — реле R. Катушки индуктивности L препятствуют утечке энергии высокой частоты из первого контура, а также защищают когерер от помех, возникающих в остальной части схемы. Выходной контур включает в себя нормально разомкнутые контакты реле R, источник питания B2 и телеграфный саундер S. При срабатывании когерера постоянный ток от источника питания B1 протекает через обмотку реле, контакты которого замыкаются и обеспечивают прохождение тока от источника B2 в выходном контуре.
В 1899 году участники экспериментальных работ Александра Попова Пётр Рыбкин и Дмитрий Троицкий обнаружили возможность приёма импульсов высокой частоты на телефонный капсюль (на слух) при недостаточном для срабатывания когерера уровне сигнала[7]. Приёмник по такой схеме, получивший название «телефонный приёмник депеш», был запатентован Поповым в России[12], Великобритании[13] и в ряде других стран. Приём азбуки Морзе на слух означал, что при малом уровне сигнала когерер не срабатывал и без встряхивания металлических опилок «работал в режиме амплитудно-линейного детектирования»[14][* 5].
Применение телефонного приёмника способствовало поиску наиболее чувствительных и стабильных конструкций детекторов для него. В 1902 году появился так называемый магнитный детектор, но он имел малую чувствительность, хотя был очень надёжным в работе. В 1903 году был изобретён очень чувствительный электролитический детектор. Затем появились другие типы детекторов, в том числе не требующие источника питания[14].
Когерер применялся примерно до 1906 года, прежде чем окончательно уступил место другим детекторам[1]:148.
Физический механизм
Несмотря на широкое практическое применение, физический механизм когерера оставался невыясненным. В своё время гипотезы выдвигали Бранли, Лодж, немецкий физик Карл Фромме[1]:147—152.
Лодж полагал, что под действием электрического напряжения, индуцируемого электромагнитными волнами, между опилками возникают микроскопические искры, в результате чего опилки привариваются друг к другу и сцепляются по параллельным цепям[1]:148—149.
Фромме предположил, что частицы опилок окружены диэлектриком в виде оксидов, который пробивается искрами. Действительно, в 1898—1899 годах ряд исследователей наблюдали искры между опилками. Когерер в таких исследованиях вероятнее всего находился на небольшом расстоянии от передатчика электромагнитных волн, поскольку в условиях дальнего приёма искры между опилками не наблюдались[1]:149.
Гипотеза, исходившая из электростатического эффекта, предполагала перемещение (движение) опилок, соединяющихся в цепочки. Вследствие электростатической индукции опилки становятся диполями, которые притягиваются друг к другу и слипаются, образуя проводящие цепочки[1]:149.
Другая гипотеза предполагала сварку опилок друг с другом из-за повышения температуры под действием индукционных токов, при этом указывалось, что опилки соприкасаются остриями, плотность тока в которых очень высока. Действительно, в условиях ближнего приёма исследователи наблюдали на опилках следы плавления, но дальний приём этим не эффектом не объяснялся[1]:149—150.
Бранли с самого начала возражал против интерпретаций, где фигурировали либо искры, либо движение опилок, собиравшихся в цепочки. Он усматривал суть проблемы в свойствах диэлектрика, разделяющего опилки. При малой толщине под действием радиоволн диэлектрик мог становиться проводником. Бранли не объяснял, почему — он считал, что эта гипотеза связана с фундаментальным свойством материи, которое ещё предстоит открыть. Также он исследовал свойства радиокондукторов в виде столбиков из металлических шариков или дисков и выдвинул два положения[1]:150—151:
- изолирующий слой, который разделяет проводящие частицы, становится проводящим под кратковременным воздействием токов высокой частоты;
- частицы проводника не обязательно должны соприкасаться между собой, чтобы проводить электрический ток, — в этом случае изоляция служит в основном для поддержания определённого промежутка между частицами.
Выясняя роль диэлектрика, Бранли пришёл к идее радиокондуктора с одним-единственным контактом типа стального острия на железной или стальной пластине. Он изготовил основанный на этом принципе детектор, который впоследствии применялся некоторое время в радиотехнике[1]:150—151.
Сцепление частиц вблизи источника высокочастотных электромагнитных волн — малоизвестное явление, которое до конца не изучено даже сегодня. Проведённые в начале 2000-х годов эксперименты с порошковыми когерерами, по-видимому, подтвердили гипотезу о том, что частицы сцепляются за счёт явления микросварки, вызванного радиочастотным электричеством, протекающим через небольшую площадь контакта между частицами[15][16][* 6]. Основополагающий принцип так называемых когереров с «несовершенным контактом» также не совсем понятен, но может включать своего рода туннелирование носителей заряда через несовершенное соединение между проводниками.
В. И. Шапкин отмечает, что корректного объяснения изменения сопротивления металлических опилок в электромагнитном поле не существует до сих пор, и предполагает, что этот эффект имеет полиморфный характер — полупроводниковая проводимость, магнитный эффект, ионизация[7]:85.
Радиокондукторы, разработанные Эдуардом Бранли
Примечания
- Комментарии
- Источники
Литература
- Изобретение радио. А. С. Попов. Документы и материалы / Составители: Е. А. Попова-Кьяндская, В. М. Родионов, М. И. Мосин, В. И. Шамшур. Под ред. А. И. Берга. — М.: Наука, 1966. — 284 с.
Ссылки
- Пестриков В. М. Технологии обнаружения радиосигнала на заре практической радиосвязи.



