Индукционный ускоритель

Индукцио́нный ускори́тель — ускоритель заряженных частиц, разгоняемый с помощью эдс индукции, создаваемой переменным магнитным потоком.

Физические основы

undefined
undefined
undefined

Конструктивно индукционные ускорители делятся на циклические (бетатрон) и линейные.

В линейных индукционных ускорителях (ЛИУ) для изменения энергии заряженных частиц используется вихревое электрическое поле, создаваемое управляемыми изменениями магнитного потока. Конструкция ЛИУ состоит из последовательно расположенных индукторов, составляющих т. н. импульсный трансформатор. Индукторы состоят из тороидальных ферромагнитных сердечников, обмотки которых подключены к импульсному источнику напряжения, подающему на эти обмотки прямоугольные импульсы напряжения. В такой системе обмотки сердечников представляют собой первичные обмотки импульсного трансформатора, а сам пучок заряженных частиц — его вторичную обмотку[1].

Линейные индукционные ускорители используются для получения электронных пучков с токами в несколько килоампер и энергией до 100 МэВ с длительностью импульса до 1 мкс. ЛИУ используются для генерации когерентного электромагнитного излучения и электромагнитного излучения терагерцевого диапазона[2].

На рисунке 1 представлена конструкция действующего индуктора ЛИУ, состоящая из:

1 — ферромагнитного сердечника индуктора;

2 — первичной обмотки индуктора;

3 — экранирующих электродов;

4 — ускоряющей трубки;

5 — магнитной линзы.

На рисунке 2 показана общая схема ускорительного комплекса линейного индукционного ускорителя, разбитая на секции:

А — инжектор и линейный ускоритель; состоит из инжектора, коротких ускоряющих модулей (КУМ) (всего 30 штук), и длинных ускоряющих модулей (ДУМ), (всего 12 штук).

В — начальная часть канала транспортировки; состоит из согласующего дуплета и ячейки FODO (транспортный квадрупольный канал).

С — конечная часть канала транспортировки. Состоит из септум-магнита, с помощью которого пучок может быть инжектирован в боковой транспортный канал, и трёх дублетов квадрупольных линз. В конце конструкции пучок подвергается финальной фокусировке в триплете и попадает в соленоидальную фокусирующую линзу. После неё пучок фокусируется на танталовой измерительной пластине, где можно оценить его качество.

В циклических индукционных ускорителях (бетатронах) пучки частиц движутся по траекториям, близким к окружностям постоянного радиуса, а магнитный поток, пронизывая их траектории, ускоряет частицы, то есть передаёт им дополнительную энергию посредством вихревого электрического поля. Энергия , передаваемая единичному положительному заряду вихревым электрическим полем, равна интегралу по замкнутой траектории :

.

На стационарной круговой орбите пучки электронов удерживаются управляющим магнитным полем с напряжённостью . Обмотка электромагнита, создающего вихревое электрическое поле, питается переменным электрическим током с частотой Гц. За время около 10−3 с электроны успевают сделать примерно 106 оборотов и приобрести энергию порядка 500 МэВ. При этом их скорость приближается к скорости света, .

В конце бетатрона, или циклического индукционного ускорителя (ЦИУ), расположено дополнительное магнитное поле, необходимое для изменения траектории пучков электронов и направления их на контрольную мишень для оценки качества пучка[3].

В бетатронах важно соблюдение постоянства равенства радиуса орбиты электронного пучка:

,

где  — среднее значение индукции магнитного поля в области, охватываемой орбитой,  — индукция магнитного поля самой орбиты. Другими словами, необходимо, чтобы магнитное поле на орбите изменялось в два раза медленнее, чем среднее поле внутри орбиты. Такая орбита называется равновесной.

Бетатрон был предсказан в 1928 году Дж. Слепяном, а первый действующий бетатрон заработал в 1940 году. Создание его осуществлялось под руководством Д. Керста. В СССР бетатрон создавался группой учёных из Томского политехнического института: А. А. Воробьёвым, Л. М. Ананьевым, В. И. Горбуновым, В. А. Москалёвым и Б. Н. Родимовым.

Существенным преимуществом бетатронов является то, что ускоряемый пучок может многократно пересекать ускоряющие его вихревые поля, если индукционное поле расположено вдоль всей орбиты движения пучка разгоняемых частиц.

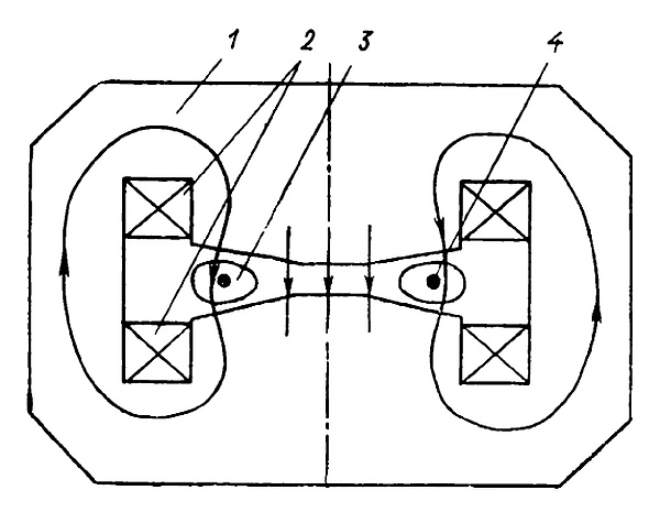
На рисунке 3 показана конструкция цикличного индукционного ускорителя (бетатрона) в разрезе. Здесь

1 — ярмо электромагнита;

2 — обмотки возбуждения;

3 — вакуумная камера;

4 — положение орбиты.

Стрелки в центре рисунка символизируют магнитные силовые линии и их направление.

Примечания

Литература

  • Заневский Ю. В. Проволочные детекторы элементарных частиц. — Москва : Атомиздат, 1978.
  • Черняев А. П., Белихин М. А., Желтоножская М. В. Введение в физику ускорителей заряженных частиц. — Москва : ООП физического факультета МГУ, 2019.
  • Бетатроны, В. А. Москалев, В. Л. Чахлов, ТПУ, 2009.
  • Handbook of accelerator physics and engineering, edited by A. Chao, M. Tigner, 1999, p. 10.