Следящий гидропривод
Следящий гидропривод — это регулируемый гидропривод, в котором закон движения выходного звена (вала гидромотора или штока (в некоторых случаях корпуса) гидроцилиндра) изменяется в зависимости от управляющего воздействия.
Как правило к функциям слежения в следящем гидроприводе добавляются функции усиления управляющего сигнала по мощности. Поэтому синонимом термина следящий гидропривод считается термин гидроусилитель.
Что важно знать
| Следящий гидропривод |
|---|
Принцип работы гидроусилителя с золотниковым распределителем
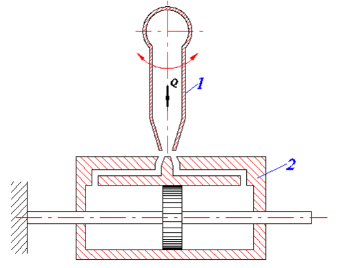
Одна из возможных конструктивных схем гидроусилителя показана на рис. 1.
В этой схеме перемещение управляющей рукоятки вправо через механическую связь вызывает смещение золотника также вправо. При этом открываются каналы золотникового гидрораспределителя, в результате чего жидкость от насоса подаётся в правую полость гидродвигателя, в качестве которого применён двухштоковый гидроцилиндр. В этой полости гидроцилиндра создаётся избыточное давление, и, как следствие, выходное звено движется вправо, то есть в том же направлении, что и рукоятка. Поскольку выходное звено жёстко связано с корпусом распределителя, то перемещение выходного звена вызывает такое же по величине перемещение корпуса распределителя (рис. 2). В результате смещения корпуса распределителя каналы в гидрораспределителе перекрываются поясками золотника и подача жидкости от насоса в полость гидроцилиндра прекращается. Таким образом и управляющая рукоятка, и выходное звено гидродвигателя движутся синхронно. Однако за счёт того, что усилие на выходном звене создаётся за счёт давления, развиваемого насосом, то это усилие многократно больше, чем усилие, прикладываемое к рукоятке оператором. Коэффициент усиления следящих гидроприводов практически неограничен, и мощность входного сигнала может быть уменьшена до ничтожно малой величины (примерно 0,5 Вт).
В рассмотренной конструкции распределителя перемещение золотника может вызываться не только линейным перемещением управляющей рукоятки, но и, при небольших конструктивных изменениях, возможно осуществить входное движение золотника с помощью вращательного движения руля (например, через винтовую передачу).
Профиль поясков золотника
Иногда пояски золотников гидрораспределителей выполняют с небольшой конусностью (6°-10°) (рис. 4). Тогда открытие каналов распределителя происходит более плавно, чем в распределителях с золотниками с цилиндрическими поясками (рис. 5). Соответственно, при открытии каналов более плавно нарастает и подача жидкости в полости гидродвигателя, и поэтому «трогание с места» и остановка выходного звена гидроусилителя также происходит более плавно. Иными словами, при наличии конусности в конструкции золотников чувствительность гидроусилителя снижается.
Гидроусилители с клапанными распределителями
Помимо золотниковых распределителей, в конструкциях гидроусилителей иногда применяют клапанные распределители. Одна из возможных конструктивных схем такого гидроусилителя приведена на рис. 6.
В таком гидроусилителе при перемещении ручки управления влево открывается верхний клапан, и жидкость от насоса по каналам внутри гидроусилителя подаётся в правую полость цилиндра. При этом в этой полости создаётся избыточное давление, под действием которого поршень начинает перемещаться влево, то есть в ту же сторону, в которую была перемещена ручка управления. Поскольку поршень жёстко связан с корпусом распределителя, то перемещение поршня вызывает точно такое же по величине и направлению перемещение корпуса распределителя. В свою очередь смещение корпуса закрывает верхний клапан, и подача жидкости в левую полость цилиндра прекращается, и соответственно прекращается движение поршня. Таким образом, выходное звено (шток поршня) движется синхронно с входным звеном (ручкой управления).
При движении поршня влево жидкость из левой полости цилиндра вытесняется в гидроаккумулятор.
Когда ручка управления перемещается вправо, верхний клапан закрыт, но открывается нижний клапан, и жидкость из правой полости цилиндра идёт на слив в бак. Движение поршня при этом происходит вправо под действием давления, создаваемого гидроаккумулятором.
Гидроусилители с клапанными распределителями имеют высокую точность воспроизведения по сравнению с гидроусилителями с золотниковыми распределителями, поскольку в золотниковых распределителях имеется мёртвая зона, обусловленная тем, что ширина поясков золотника обычно делается несколько больше диаметра перекрываемых каналов (положительное перекрытие; абсолютно точного совпадения ширины поясков и диаметров каналов не удаётся достичь по технологическим причинам изготовления деталей). В клапанных распределителях мёртвая зона может быть легко устранена.
Гидроусилитель крутящего момента
- Основная статья — Гидроусилитель крутящего момента
Гидроусилитель крутящего момента — вид следящего гидропривода, в котором гидродвигателем служит либо гидромотор, либо поворотный гидродвигатель.
В данном типе гидроусилителей обычно используется гидравлический распределитель с поворотным золотником, выполненным в виде крана, при этом у распределителя имеется отслеживающая втулка.
Струйные усилители
Струйные усилители выполняются на базе струйных распределителей.
По сравнению с гидроусилителями механического типа струйные усилители обладают высоким быстродействием. Частота переключений газовых струйных усилителей достигает нескольких кГц. Усилители, работающие на маловязких жидкостях, имеют быстродействие на порядок меньше, чем газовые, однако и их быстродействие удовлятворяет практику.
Схема действия одного из видов струйных усилителей показана на рис. 8. При повороте трубки 1 на небольшой угол по часовой стрелке поток Q подаётся в правую полость гидроцилиндра 2. В этой полости создаётся избыточное давление, и корпус будет смещаться вправо до тех пор, пока не восстановится равновесие и поток вновь не будет поделён на две равные части. Таким образом, корпус гидроцилиндра 2 отслеживает движения трубки 1.
Чувствительность гидроусилителей
Сигнал, подаваемый на вход гидроусилителя, вызывает соответствующее движение выходного звена. При некоторых небольших перемещениях рукоятки выходное звено при определённых значениях этого перемещения будет оставаться в покое. Это обусловлено тем, что элементы креплений механической передачи от рукоятки к золотнику имеют люфты. Пока эти люфты не выбраны, золотник будет оставаться в покое. Соответственно, в покое будет оставаться и выходное звено гидроусилителя. Кроме того, по технологическим причинам ширина поясков золотника обычно делается несколько большей, чем диаметр перекрываемых каналов (положительное перекрытие), а значит, на начальном этапе движения золотника каналы распределителя будут перекрыты, и жидкость от насоса не будет поступать к полости гидродвигателя, и поэтому выходное звено будет оставаться в покое. Таким образом, по объективным причинам чувствительность гидроусилителя не может быть абсолютной.
Строго говоря, под чувствительностью понимают комплекс качеств, позволяющих с минимальной ошибкой (по времени и пути) заданные перемещения входа преобразовывать в перемещения выходного звена. При этом ошибка по времени характеризует быстродействие, а по пути — точность гидроусилителя.
Помимо ширины поясков и люфтов механической передачи на чувствительность оказывают влияние утечки рабочей жидкости через зазоры между деталями распределителя, трение в элементах конструкции, упругость деталей и самой рабочей жидкости гидроусилителя, а также нагрузка выхода, влияющая на давление в гидросистеме, а значит, и на утечки.
Чувствительность является одним из основных требований, предъявляемых к следящим гидроприводам.
Применение следящих гидроприводов
Примером следящего гидропривода является гидроусилитель руля, широко применяемый в автомобилях. Следящий гидропривод применяется в тех случаях, когда непосредственное управление тем или иным механизмом требует от человека слишком больших усилий. Кроме автомобилей, следящие гидроприводы устанавливают на тракторах, на судах, используют в авиации, робототехнике и других сферах.
История
Первый патент, связанный с гидравлическим усилением, был получен Фредериком Ланчестером в Великобритании в 1902 году. Его изобретение представляло собой «усилительный механизм, приводимый посредством гидравлической энергии»[1]. В 1926 году инженер подразделения грузовиков компании Пирс Эрроу (англ. Pierce Arrow) продемонстрировал в компании Дженерл моторс гидроусилитель руля с хорошими характеристиками, однако автопроизводитель посчитал, что эти устройства будут слишком дорогими, чтобы выпускать их на рынок[2][3]. Первый предназначенный для коммерческого использования гидроусилитель руля был создан компанией Крайслер в 1951 году, и сейчас большинство новых автомобилей укомплектовывается подобными устройствами.
См. также
Примечания
Литература
- Башта Т.М. Гидравлические приводы летательных аппаратов. — Москва: Машиностроение, 1967.
- Башта Т.М. Гидропривод и гидропневмоавтоматика. — Москва: Машиностроение, 1972. — С. 320.
- Схиртладзе А.Г., Иванов В.И., Кареев В.Н. Гидравлические и пневматические системы. — Москва: ИЦ МГТУ «Станкин», «Янус-К», 2003. — С. 544.



