Зонд Ленгмюра
Зонд Ленгмюра — устройство, используемое для диагностики плазмы. Зондовый метод был впервые предложен Ирвингом Ленгмюром в 1923 году. Этот метод основан на измерении плотности тока заряженных частиц на помещённый в плазму электрический проводник в зависимости от его потенциала. Соответствующая кривая называется зондовой вольт-амперной характеристикой. Наибольшее распространение при исследованиях получили цилиндрический, сферический и плоский зонды.
Устройство
Проводящая часть зонда, находящаяся в плазме, может быть выполнена из любого металла. Выбор металла определяется прежде всего свойствами среды, в которую он помещён, и характеристиками изолятора, с которым он имеет механический контакт. Этим металлом может быть, например, молибден, вольфрам, а в случае химически агрессивной среды — золото, платина. Изолирующая часть зонда изготавливается из стекла, кварца или различных типов керамики. Типичным для цилиндрического зонда является диаметр от 10−3 до 10−1 см, для сферического 10−2-10−1 см, при этом длина той части цилиндрического зонда, которая непосредственно собирает заряженные частицы, составляет 10−1-100 см (указанные размеры зависят от параметров плазмы).
Особенность метода
Зондовый метод является контактным методом диагностики. С этим обстоятельством связано одно из его преимуществ по сравнению, например с СВЧ-методами исследования плазмы, а именно локальность определения параметров плазмы. В то же время контактный характер измерений приводит к возмущению плазмы в некоторой области около зонда. Характерные размеры такой области определяются дебаевским радиусом экранирования и, как правило, оказываются существенно меньше размеров плазменного объёма. Так, при концентрации заряженных частиц 1012 см−3 и температуре электронов 1 эВ дебаевский радиус имеет порядок 10−3 см, что, как видно, позволяет проводить зондовые измерения и в плазме малых линейных размеров.
Схема измерительной системы
Измерительная система включает в себя измерительный зонд, опорный электрод – противозонд (в качестве него может выступать анод А или катод К, обычно в качестве опорного используют анод, так как в этом случае требуется источник зондового смещения Б2 на меньшее предельное напряжение) и источник напряжения (Рис. 2). Питание разряда осуществляется источником Б1. Зонду придают различные значения потенциала, относительно опорного электрода. Погруженный в плазму, зонд окружается двойным электрическим слоем (призондовый слой) и, фактически, ВАХ зонда является ВАХ слоя. В случае, когда размеры измерительного зонда много меньше размеров опорного электрода, ВАХ системы определяется слоем у измерительного зонда (система одиночного зонда).
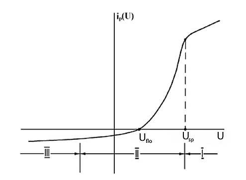
Вольт-амперная характеристика зонда Ленгмюра
— разность потенциалов между измерительным (З) и опорным (А) зондами
— потенциал плазмы
— плавающий потенциал
— потенциал измерительного зонда относительно плазмы.
Участки зондовой характеристики (Рис. 3):
- I — — электронный ток насыщения
- II — — электронный ток на зонд
- III — — ионный ток насыщения,
где — температура электронов, — постоянная Больцмана, — заряд электрона
В случае максвелловского распределения электронов по энергиям в невозмущённой плазме и больцмановского распределения концентрации заряженных частиц в поле слоя пространственного заряда у зонда ток зонда любой формы при отрицательных потенциалах определяется соотношением:
где — средняя скорость электронов, — концентрация электронов, — площадь зонда, — температура электронов.
Это соотношение было получено Ирвингом Ленгмюром и Харольдом Мотт-Смитом в 1926 году и явилось основой зондового метода диагностики плазмы. При ВАХ зависит от формы зонда. Но, несмотря на кажущуюся простоту, зондовый метод является довольно нетривиальным. Это в первую очередь связано с тем что плазма и зонд должны удовлетворять ряду достаточно жестких требований и только тогда результаты простых электрических измерений могут быть связаны с параметрами плазмы.
Критерии для работы с зондом Ленгмюра
Основные предположения простейшей теории, при выполнении которой можно довольно быстро провести расчёт зондовой характеристики, представленные в работах Ленгмюра и Бома, приведены ниже:
- Характерный размер области однородной плазмы много больше длины свободного пробега электрона и иона. Плазма изотропна;
- Средние длины энергетического пробега электронов велики по сравнению с радиусом зонда и толщиной призондового слоя ;
- Отсутствуют генерация и рекомбинация заряженных частиц в слое около зонда;
- В плазме отсутствует магнитное поле;
- Держатель зонда не влияет на характеристики плазмы и следовательно на измерения;
- Отсутствует отражение электронов от зонда и их вторичная эмиссия, не образуется плёнки на поверхности зонда в результате химических реакций (что может повлиять на отражение и вторичную эмиссию электронов с поверхности);
- Отсутствуют колебания потенциала плазмы (относительно потенциала опорного электрода);
- Работа выхода электронов с поверхности зонда одинакова в различных точках;
- Потенциал плазмы постоянен на характерных размерах зонда.
Режимы работы
В зависимости от соотношения характерных размеров зонда и характерных масштабов плазмы (длины свободного пробега электронов и ионов , длины релаксации энергии электронов и ионов , дебаевского радиуса экранирования , толщина слоя пространственного заряда у зонда ) различают несколько режимов работы зонда.
При этом нужно учитывать, что:
где – средняя доля потери энергии электроном в одном столкновении, в то время как для ионов
- При реализуются условия бесстолкновительного слоя (классический зонд Ленгмюра).
- При реализуется диффузионный режим для электронов.
- При реализуется режим сплошной среды.
В первых двух случаях из результатов зондовых измерений можно получить информацию о ФРЭЭ (ФРЭЭ - функция распределения электронов по энергиям, которая в случае Максвелловского распределения характеризуется температурой электронов — Te) в невозмущённой плазме (хотя соотношения для этого оказываются разными). В третьем случае возможно лишь получение информации о температуре электронов. Таким образом, для корректного анализа результатов зондовых измерений и использования соответствующих теоретических представлений необходимо определить в каком режиме будет работать зонд. Теория, предложенная Ленгмюром предполагает, что , где – минимальная длина энергетического пробега электронов. Тем самым определяется нижняя граница концентрации электронов в плазме:
где — температура электронов в эВ, – концентрация электронов в см−3, – концентрация тяжелых частиц в см−3, – среднее значение сечения столкновений электронов с тяжелыми частицами в см2.
Методика измерений
Методика измерений Для использования зондовых характеристик при расчёте параметров плазмы необходимо знать потенциал измерительного зонда относительно потенциала плазмы (потенциал пространства). Но из экспериментов нам известен лишь потенциал относительно некоторого опорного электрода и . В соответствии с классическими представлении определяется как потенциал точки перегиба ВАХ зонда. В реальных ВАХ из-за влияния ряда факторов (загрязнение поверхности зонда, сток электронов на зонд, колебания потенциала плазмы) явно выраженный перегиб отсутствует. Для определения используются характерные точки на производных зондового тока по потенциалу зонда. Существует два подхода к определению: соответствует потенциалу зонда, при котором либо максимальна, либо равна 0.
Хотя величиной, представляющей интерес для диагностики плазмы, является потенциал плазмы , легче измерять плавающий потенциал . Плавающий потенциал – это потенциал зонда относительно плазмы, при котором ток на зонд равен нулю. Ясно, что всегда отрицателен. Величина может быть определена при известных зависимостях ионного тока насыщения и электронного тока от потенциала зонда. Так, в предположении максвелловского распределения электронов по энергиям получается следующее выражение для плавающего потенциала:
, где M – масса основного иона
Для водорода плавающий потенциал:
[B] [эВ]
Для аргона:
[B] [эВ]
Если функция распределения электронов в разных точках плазмы одинакова, то распределение определяет распределение потенциала плазмы.
При произвольной форме изотропного энергетического распределения электронов (ФРЭЭ) в области отрицательных потенциалов зонда электронный ток на зонд связан с интегральным соотношением:
, где – энергия электрона, – ФРЭЭ
Данное выражение справедливо для зондов с выпуклой поверхностью, при отсутствии отражения электронов от зонда и вторичной электронной эмиссии с зонда, отсутствии генерации и рекомбинации носителей зарядов в слое, одинаковой работе выхода электронов с поверхности зонда в различных точках, отсутствии загрязнения поверхности зонда, отсутствии магнитного поля и колебаний потенциала плазмы. При этом также необходимо, чтобы не только зонд, но и его держатель не возмущали плазму. Существенным шагом в развитии зондовой диагностики плазмы было решение Дрювестейном задачи о нахождении ФРЭЭ по второй производной электронного тока на зонд по потенциалу зонда
где – площадь поверхности зонда. Это выражение справедливо для изотропных ФРЭЭ и не зависит от геометрии зонда, если его поверхность выпуклая. В предположении максвелловской ФРЭЭ по ВАХ может быть определена температура электронов :
Концентрация электронов может быть определена по хаотическому току на зонд при потенциале плазмы (электронный ток насыщения):
Концентрация ионов определяется по ВАХ в области ионного тока насыщения. Это одна из наиболее сложных задач зондовой диагностики: необходимо использовать выражение для ионного тока, соответствующего условиям экспериментов (геометрии и размером зонда и соотношению последних λ и λD), а также знать ионный состав плазмы.
Для оценок часто используется соотношение:
где n определяется экспериментальным путём. Для тонкого зонда и бесстолкновительного слоя (r3 << λ, λD), n = 0,5
Влияние стока электронов на зонд
Так как диффузия электронов из невозмущённой плазмы не успевает компенсировать их потери, связанные с уходом их на зонд, то свойства плазмы в окрестности зонда могут изменятся. Возмущение плазмы вызывает, соответственно, искажение ВАХ зонда тем большее, чем ближе потенциал зонда к потенциалу плазмы и чем больше параметр стока . Параметр стока зависит от геометрии зонда и соотношения характерных размеров зонда и длины свободного пробега электронов. Так например для цилиндрического зонда:
, где – длина зонда
Сток электронов приводит к занижению рассчитанной по электронному току ФРЭЭ, и к завышению определённой по ВАХ температуре электронов, к искажению второй производной зондового тока по потенциалу зонда. Влияние стока может быть скорректировано расчетным путём. При истинные и искажённые концентрации связаны следующим соотношением:
для средней энергии электронов:
При из зондовой характеристики может быть получена ФРЭЭ, однако она оказывается пропорциональной не второй, а первой производной электронного тока на зонд по потенциалу зонда.
ВЧ-компенсированный зонд
При зондовых измерениях в плазме, создаваемой переменными полями (ВЧ и СВЧ разряды), а также в плазме в присутствии колебаний потенциала плазмы возможно искажение ВАХ зонда. Это связано с тем, что слой пространственного заряда у зонда является нелинейным элементом и при воздействии на него переменного напряжения происходит преобразование частоты и, в частности, в переменном сигнале появляется постоянная составляющая (выпрямление на слое, как нелинейном элементе). Это ведёт к появлению дополнительного (к внешнему напряжению) смещения зонда, причем величина этого смещения зависит от потенциала зонда.
При приложении к призондовому слою напряжения в виде:
в предположении максвелловского распределения электронов по энергиям величина среднего электронного тока на зонд (искажённая ВАХ в области отталкивающих потенциалов) записывается в виде:
где – электронный ток насыщения, – модифицированная функция Бесселя нулевого порядка, и постоянное напряжение и амплитуда переменного напряжения на призондовом слое. Из этого выражения видно, что одинаковые значения электронного тока на зонд на искажённой характеристике () достигаются при больших отрицательных значениях внешнего смещения, чем на неискажённой характеристике ()
(Рис. 5)
Одним из следствий влияния переменного напряжения на ВАХ является смещение плавающего потенциала зонда в область больших отрицательных потенциалов при увеличении
Это соотношение даёт критерий влияния на ВАХ. Для получения наиболее точных результатов при проведении эксперимента необходимо добиться минимального значения . Все методы уменьшения этой погрешности (пассивные и активные) связаны с уменьшением переменного напряжения на призондовом слое. Напряжение на призондовом слое будет складываться из суммы напряжения поданного на зонд и переменного напряжения в призондовом слое: . Добавка переменного напряжения будет определяется следующим образом . Очевидно что минимальное значение достигается при и (Рис. 6 (а)). Для этих целей можно использовать каскад резонансных фильтров пробок (Рис. 6 (б)). Фильтрующие элементы должны быть расположены максимально близко к активной области зонда для исключения влияние паразитных ёмкостей. Иначе эти ёмкости могут свести к нулю все усилия по уменьшению влияния .
Развитие зондового метода
Развитие зондовых методов происходило по двум основным направлениям:
1. Отказ от упрощённых предположений, изложенных выше и создание зондовых теорий для более сложных случаев.
- Допускается произвольное соотношение между длинами пробега заряженных частиц, радиусом зонда и размером слоя объёмного заряда;
- В призондовом слое объёмного заряда происходят плазмохимические процессы;
- Ненулевые коэффициенты: отражения от зонда, вторичной эмиссии электронов с поверхности зонда;
- Плазма анизотропна, имеются направленные потоки частиц;
- Плазма нестационарна и находится в магнитном поле.
2. Усовершенствование зондовых измерительных схем
- Системы с временным разрешением
- Создание схем для измерения в условиях плазменных шумов
- Повышение чувствительности схем
- Автоматизация зондовых измерений
В настоящее время зонды используются для изучения разрядов постоянного тока, ВЧ и СВЧ разрядов при давлениях от миллиторр до атмосферного, плазмы в магнитных полях и плазмы с химическими реакциями.
Фотографии вч-компенсированного зонда
Зонд в плазме
Ссылки
- [1] Ю. А Лебедев. Электрические зонды в плазме пониженного давления. 2002.
- Райзер Ю. П. Физика газового разряда. 3-е изд. переработанное и дополненное. – Долгопрудный: Издательский дом “Интеллект”, 2009.
- Демидов В. И., Колоколов Н. Б., Кудрявцев А. А. Зондовые методы исследования низкотемпературной плазмы. Энергоатомиздат, 1996.
- Mott-Smith H., Langmuir I. // Phys. Rev. 1926. V. 28. № 5. P. 727.
- Godyak V. A. Measuring EEDF in gas discharge plasmas. GTE Products Corporation. 1990.
- Godyak V. A. and Demidov V. I. // Journal of Physics D: Applied Physics 2011. V. 44. P. 233001.
- Demidov V.I., Ratynskaia S.V., and Rypdal K. // Review of Scientific Instruments 2002. V. 73, № 10. P. 3409.


