Тач-теннис
Та́ч-те́ннис (от англ. touch - прикосновение и tennis - теннис) — игровой вид спорта с мячом и ракеткой, разновидность тенниса. Задача игрока при помощи ракетки переправить мяч через через сетку, разделяющую игровой корт, на половину соперника — максимально усложнив тому возможность ответного удара.
В целом повторяя концепцию современного тенниса, данный вид спорта имеет ряд существенных отличий: модифицированы правила подсчета очков и подачи, матчи проходят на уменьшенной площадке. Кроме того, игроки используют облегченные версии теннисных ракеток (чаще всего — детские), а также мячи увеличенного диаметра с медленным отскоком и сниженной скоростью полёта. Благодаря таким изменениям в тач-теннисе силовая составляющая играет меньшую роль: подающий не имеет решающего преимущества. В этих условиях важнейшими качествами для игрока становятся техничность, игровой интеллект и разнообразие тактического арсенала[1].
Что важно знать
| Тач-теннис | |
|---|---|
| Категория | игра с мячом и ракеткой |
| Спортсменов в команде | 1-2 |
| Инвентарь |
Теннисная ракетка Теннисный мяч |
| Первые соревнования | |
| Год | 2 декабря 2007 года |
| Глава федерации | Рашид Ахмад |
| Веб-сайт | touchtennis.com |
История
Вид спорта был придуман в 2002 году бывшим теннисистом-профессионалом из Великобритании Рашидом Ахмадом — первоначально в качестве подвижный игры на свежем воздухе для его дочери, которая была еще слишком мала для большого тенниса. Игра понравилась друзьям Рашида; по его словам, они стали проводить меньше времени на теннисном корте, отдавая предпочтение новой игре. Такой отклик побудил создателя тач-тенниса разработать исчерпывающую систему правил, а также полноценный регламент игры — с указанием точного размера игрового поля, высоты сетки, а также характеристиками ракеток и мячей[2].
Официальной датой образования нового вида спорта считается 2 декабря 2007 года, когда Рашид Ахмад провел первый мировой турнир — впрочем, тогда в нём приняли участие только родственники и знакомые Рашида. Однако игра стала стремительно набирать популярность, превосходя по темпу роста аудитории падел-теннис и пиклбол — прежде всего благодаря доступности: в сравнение с другими подобными играми, тач-теннис не требует оборудования специальных залов и закупки дорогостоящего инвентаря[3].
Таким образом всего за несколько лет развлечение для детей превратилось в самостоятельный вид спорта, признанный британской ассоциацией лаун-тенниса[4] (АЛТ). В марте 2015 года в Саутгемптоне состоялся один из первых крупных турниров по тач-теннису под эгидой АЛТ. В нем приняли участие 32 игрока, а призовые составили всего 200 фунтов. Вместе с тем, мероприятие способствовало дальнейшей популяризации данного вида тенниса[5]. В течение следующих несколько лет в число постоянных игроков в тач-теннис вошли бывшие спортсмены из ATP, в том числе Фернандо Гонсалес, Маркус Виллис, Джефф Таранго, Крис Итон, а также телеведущий и путешественник Беар Гриллс[6] и британская актриса и комик Миранда Харт[3].
К 2019 году в официальный состав международной федерации тач-тенниса входило 8 стран. Всего же по оценке Рашида Ахмада его игра была представлена как минимум в 50 странах мира[3].
По состоянию на 2024 год в тач-теннисе действует глобальная рейтинговая система, проходят международные турниры, аналогичные «Большому шлему» и серии «Мастерс»[7]. Мероприятия поддерживают крупнейшие бренды-производители теннисного оборудования (такие как Wilson, Babolat и Prince), а сумма призовых на крупнейших турнирах достигают 8 тыс. фунтов. Разыгрываются и другие ценные призы: так победитель турнира «Мастерс» 2017 года Саймон Робертс получил автомобиль от спонсора турнира — компании SsangYoung.
Инвентарь и правила игры
Данный вид спорта позиционируется как доступный вариант тенниса — менее требовательный к качеству покрытия игрового поля (допустимо играть как на специально подготовленных площадках, так и на траве или асфальте)[8], с уменьшенным размером корта, детскими теннисными ракетами (стоимость которых в 4-5 раз ниже профессиональных) и облегченными мячами из пенопласта, обеспечивающих более медленный отскок и не требующих особых условий хранения. Матчи проводятся как один на один, так и в парном формате.
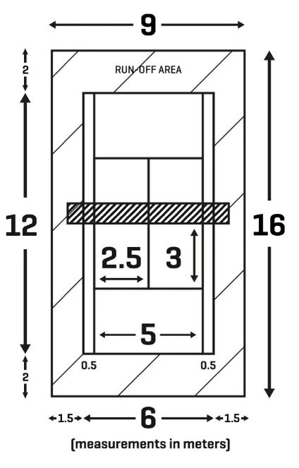
Пропорция корта соответствует таковой в большом теннисе, однако его длина и ширина уменьшены приблизительно вдвое. Таким образом размеры игрового поля составляют 12×6 м, при этом ширина каждого коридора (считаются частью площадки при парной игре) составляет 50 сантиметров; полный размер корта с забегами — 16×9 м. Квадраты, предназначенные для подачи, ограничены 3 м. в длину и 2,5 м. в ширину[9]. Высота сетки — 85 см, что ниже стандартной теннисной на сетки на 6,5 см[8]. Важном отметить, что уровень сетки в тач-теннисе не изменяется от края площадки до её середины — в отличие от большого тенниса, где высота сетки у крепежных столбов составляет 107 см, а к середине корта снижается до 91,4 см.
Размер ракетки должен укладываться в диапазон 20,9-21,1 дюймов (то есть около 53 см.) с площадью головы до 690 см² — это стандартная юниорская теннисная ракетки для начинающих теннисистов в возрасте 6-7 лет. Для игры используются мячи диаметром 8 см, изготовленные из пенопласта высокой плотности, однако допустимо применять и обычные тренировочные мячи увеличенного размера[9][10].
В целом правила повторяют таковые в большом теннисе за некоторыми исключениями.
Матч ведется до двух побед в сетах — в каждом из которых по 4 гейма. Подсчет очков внутри гейма ведется по теннисной традиции (1-е выигранное очко обозначается как «15», второе как «30», третье как «40»). При равном счете счете (40-40) разыгрывается очко, завершающее гейм — игры на «больше-меньше» не ведется. В случае ничьи по геймам (4-4) разыгрывается тай-брейк до 5 очков, где также действует правило решающего мяча[1].
Подача, как и в большом теннисе, выполняется по геймам, а первый подающий определяется жребием. Стартовый розыгрыш гейма начинается с подачи в первый (правый от принимающего) квадрат, следующий — во второй (левый от принимающего), затем очередность повторяется. В тач-теннисе у игрока есть только одна попытка, для правильного введения мяча в игру — вторая подача правилами не предусмотрена: в случае ошибки очко достается принимающему; при этом в случае касания мячом сетки в ходе подачи розыгрыш не прерывается, а продолжается как обычно[10][1].
В тач-теннисе действует международная рейтинговая система. Подсчет очков ведется по старой схеме из ATP: в зачет личного рейтинга идут 8 лучших результатов в турнирах на протяжении сезона. При этом количество очков зависит от уровня соревнования: местные состязания приносят меньше, а победы в турнирах «Большого шлема» и «Мастерс» — существенно больше[4].


