Сопло
Соплó — это канал переменного или постоянного поперечного сечения круглой, прямоугольной или иной формы, предназначенный для подачи жидкостей или газов с определённой скоростью и в требуемом направлении. Конструирование сопла основано на расчёте размеров его канала, обеспечивающих заданную выходную скорость жидкости или газа. Принцип действия сопла основан на истечении жидкости или газа за счёт перепада их давлений по длине канала сопла.
Что важно знать
| Сопло |
|---|
Устройство
В простейшем случае сопло представляет собой цилиндрический или конический патрубок, один конец которого присоединён к источнику жидкости или газа, а из другого истекает струя.
Примерами гидравлических сопел могут служить ствол пожарного брандспойта или сопло фонтана.
В зависимости от скорости истечения жидкости или газа различают дозвуковое и сверхзвуковое сопло. Для дозвукового сопла характерно равенство давлений на выходе сопла и в окружающей среде. В таком сопле при возрастании давления на входе сопла и постоянном давлении окружающей среды скорость в выходном сечении сначала увеличивается, а затем при определённом значении входного давления становится постоянной и не изменяется при дальнейшем увеличении давления на входе. При этом скорость истечения равна местной скорости звука и называется критической.
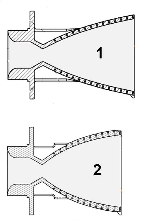
Сопло Лаваля (сверхзвуковое) состоит из двух участков — сужающегося, предназначенного для ускорения потока до местной скорости звука, и расширяющегося, предназначенного для ускорения потока до сверхзвуковой скорости. Самое узкое поперечное сечение сверхзвукового сопла называют критическим[1].
Следует различать термины сопло и жиклёр. Основное различие в том, что жиклёр обычно представляет собой устройство ограничения потока (в упрощённом представлении — калиброванное отверстие), а сопло — это устройство для формирования и управления потоком. Также сопло не следует путать с форсункой, которая является устройством дозирования (в упрощённом представлении — клапаном).
Применение
В ракетной технике сопло — это часть ракетного двигателя, смежная с камерой сгорания, имеющая переменное сечение и предназначенная для передачи двигателю части кинетической энергии продуктов сгорания. В литейном производстве (литьё по газифицируемым (выжигаемым) моделям) сопло, или вента — это цилиндр или шестигранник с отверстиями или пазами (щелями), предназначенный для отвода воздуха из полости пресс-формы при заполнении пенополистиролом и подачи пара, необходимого для формования пеномодели.
В устройстве струйных принтеров сопло, или форсунка, — отверстие, через которое краска подаётся на бумагу[2].
В газовых горелках это элемент горелки, в котором потенциальная энергия среды преобразуется в кинетическую энергию истекающей струи.
В системах возврата уноса и острого дутья в топках паровых котлов КЕ, ДКВр и водогрейных котлов КВ-ТС.


