ПП MDG
MGD PM-9 — Французский пистолет-пулемет разработанный в конце 40-х и 50-х годов XX века инженером по имени Луи Дебюи (Debuit). Не производится серийно.
Что важно знать
| MGD_PM-9 | |
|---|---|
| Тип | пистолет-пулемет |
| Страна |
|
| История службы | |
| Годы эксплуатации | never |
| История производства | |
| Конструктор | Луи Дебюи (Louis Debuit) |
| Разработан | late 1940s – early 1950s |
| Характеристики | |
| Длина, мм |
|
| Длина ствола, мм | 213 мм (8,4 ″) |
| Патрон | 9×19 мм Парабеллум, 7,65 мм Longue |
| Принципы работы | полусвободный затвор |
| Скорострельность, выстрелов/мин |
750 rpm |
| Прицельная дальность, м | 100 метров (110 yd) |
| Вид боепитания | 32-round box magazine (MP-40 compatible) |
| Прицел | Iron sights |
История
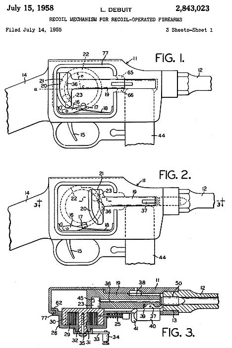
В конце 40 гг XX- го века Луи Дебюи, работавший в компании Etablissements Merlin Gerin начал работу над новым пистолетом пулеметом. Он хотел создать оружие компактной и портативной конструкции, которое характеризуется небольшой отдачей. Для достижения этих целей, конструктор решил разработать оружие весьма необычной формы и принципа работы. Он применил полусвободный затвор. Использовалась конструкция опытного единого пулемёта, представленного конструктором фирмы Gustloff-Werke Виктор Барнитцке на конкурс одновременно с MG42. Движение затвора при помощи зубчатой рейки и шестерёночного механизма передавалось двум маховикам, раскручивавшимся в обратные стороны, нейтрализуя энергию отдачи (пулемёт не был принят из-за быстрого износа рейки и шестерён).
В пистолете-пулемёте MGD использовалась схожая система, но с одним маховиком и без реечного механизма. В годах 1954—1955 произведено около тысячи MDG в нескольких вариантах с разной длиной ствола и типом приклада (фиксированной длины или складным). Необычным конструкторским решением была также возможность «складывания» ПП наподобие раскладушки, что снижало габариты оружия в небоевых ситуациях и при переноске.
В 1956 году лицензия на MDG была продана немецкой компании Erma Werke, но там было выпущено только несколько ПП этого типа (ERMA PM-9), и компания Erma Werke решила сосредоточиться на производстве более классических, менее дорогих образцов оружия.
Пистолет-пулемет MDG не был принят на вооружении военными ни одной страны.
ТТХ
- Калибр: 9×19 mm Luger / Parabellum
- Вес: 2,53 кг
- Длина: (приклад сложен/раскрыт) 359 / 659 мм
- Длина ствола: 213 мм
- Темп стрельбы: 750 выстрелов в минуту
- Емкость магазина: 32 патрона
- Эффективная дальность: 100 метров
См. также
- ARES FMG и ПП-90 — «складные» пистолеты-пулемёты, в которых ствольная коробка и плечевой упор в сложенном состоянии образуют своего рода футляр для оружия.
Ссылки
- Пистолет-пулемет MGD / ERMA PM-9 (Франция) Архивная копия от 6 апреля 2017 на Wayback Machine




