Вибропогружатель
Вибропогружатель — машина, предназначенная для погружения железобетонных труб, колодцев, свайных элементов в песчаные и глинистые грунты.
Принцип работы
Принцип действия вибропогружателя основан на эффекте резкого снижения сопротивления погружению свайного элемента при сообщении последнему вибрации. Этот эффект основан на свойстве тиксотропии двухфазных жидкостей.
Вибропогружатель предназначен для погружения в песчаные и глинистые грунты и извлечения из них различных свайных элементов. Вибропогружатель осуществляет работу в комплексе с виброизолятором и грузоподъёмным механизмом. В качестве грузоподъёмного механизма может быть использован подъёмный кран, копёр. Кроме того, вибропогружатель может работать с экскаваторами (с соответствующими техническими параметрами).
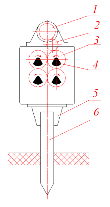
Вибропогружатель состоит из вибровозбудителя, электродвигателя или гидромотора и наголовника.
При вращении дисбалансов 4 на их ось крепления действует центробежная сила и вибропогружатель получает вибрирующее движение, которое сообщает свайному элементу 6 через наголовник 5. Дисбалансы приводятся во вращение электродвигателем 3 (или гидромотором) через механическую передачу (или непосредственно от вала мотора). Симметрично расположенные дисбалансы синхронно вращаются в разные стороны для уравновешивания радиальных нагрузок.
При вибропогоружении в условиях плотной застройки необходимо осуществлять контроль уровня ускорения колебаний не более 0,15 м/с2 (ВСН 490-87).
Достоинства
- низкая стоимость погружения свай;
- меньший шум при работе, чем при использовании свайных молотов.
Недостатки
- невозможность погружения свай в скальные грунты. При невозможности дальнейшего погружения применяют молоты.
См. также
- Копёр — устройство для установки свай в проектное положение.
- Дизель-молот — устройство для забивания свай в землю.
- Вибромолот.
- Гидравлический молот.
- Сваевдавливающая установка — машина для погружения свай в грунт методом передачи статического усилия.
Примечания
Литература
- Добронравов С. С., Сергеев С. П. Строительные машины. Учебное пособие для вузов. — 2-е изд., перераб. и доп. — М.: Высш. школа, 1981. — 320 с.